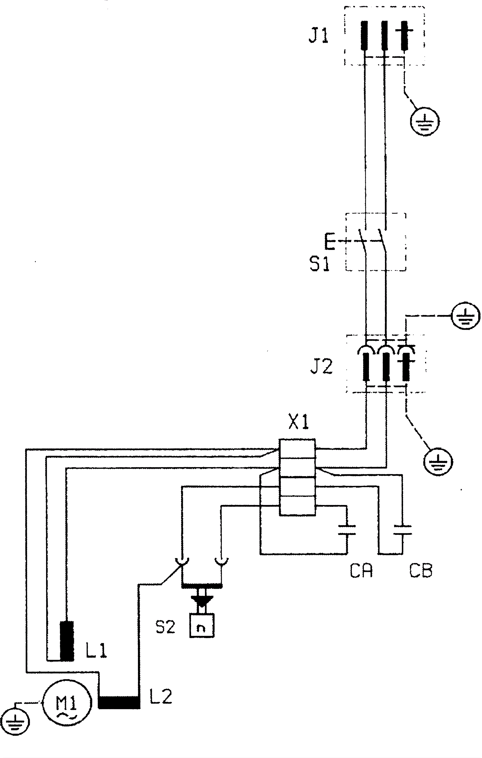
Electrical Diagram 120V
Click to enlarge