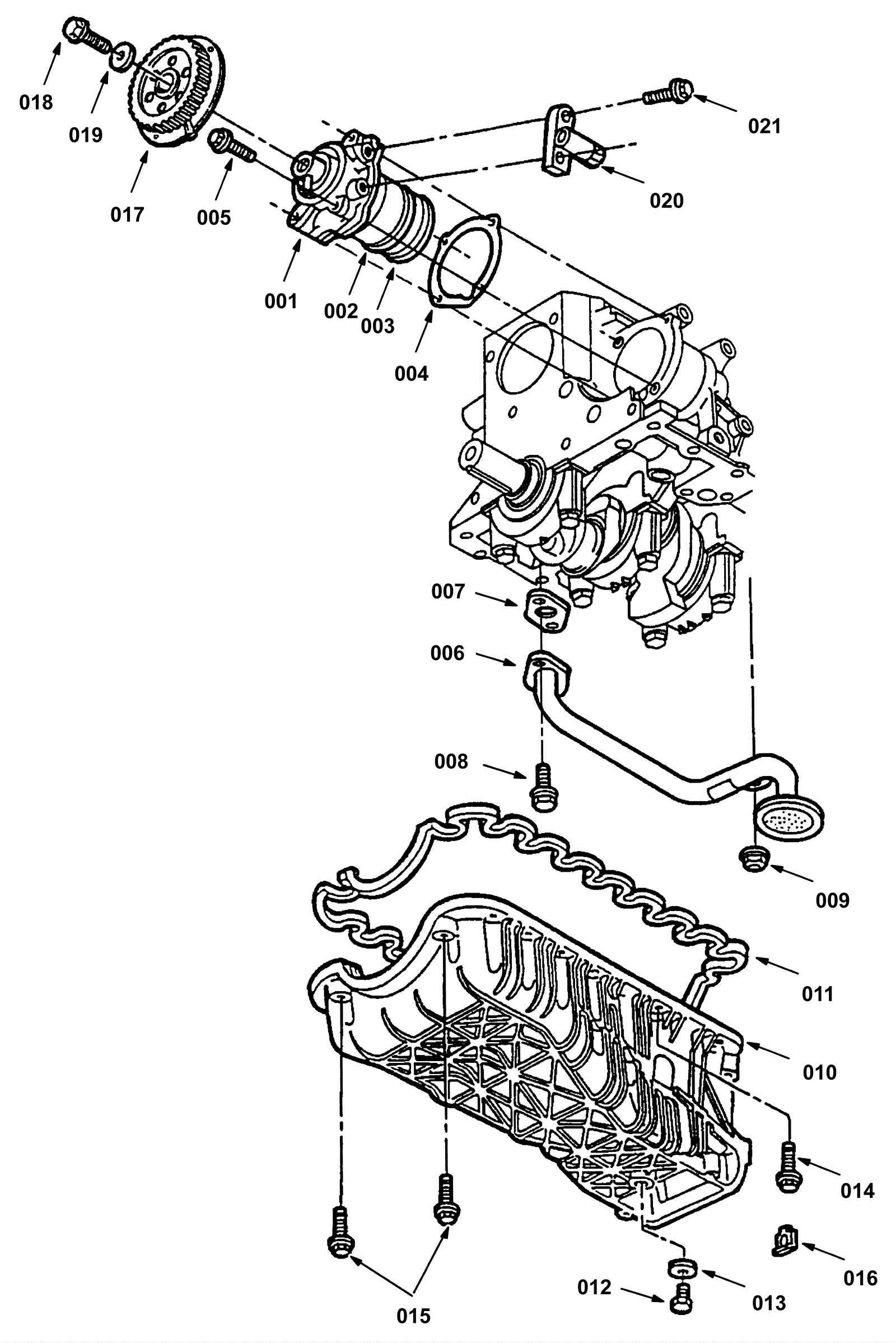
Oil Pan Group
Click to enlarge