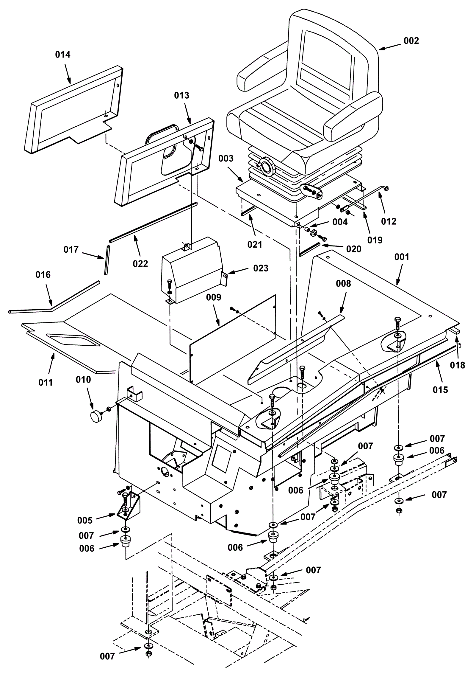
Operator Station Group 1
Click to enlarge