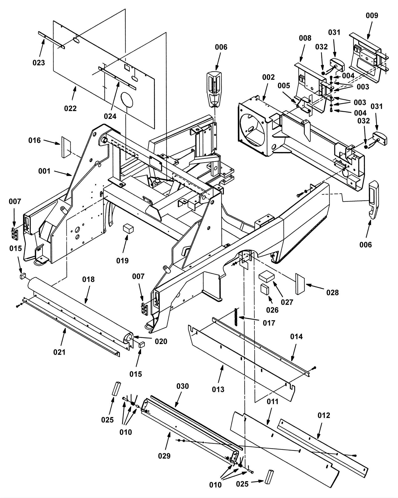
Main Frame, Skirt and Seals Group 1
Click to enlarge