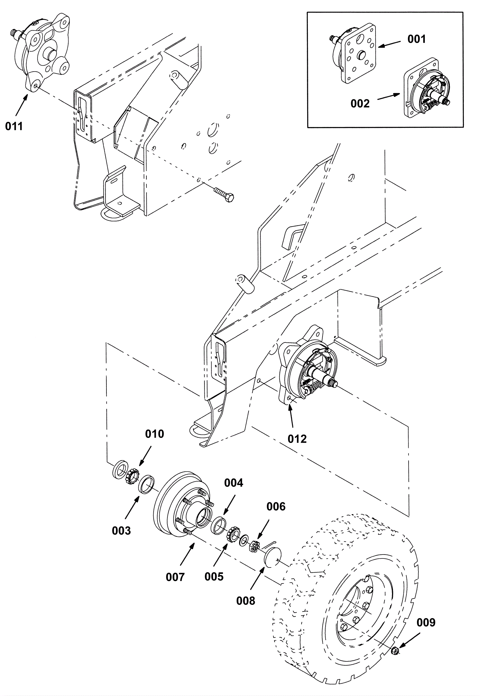
Front Wheels and Brakes Group
Click to enlarge