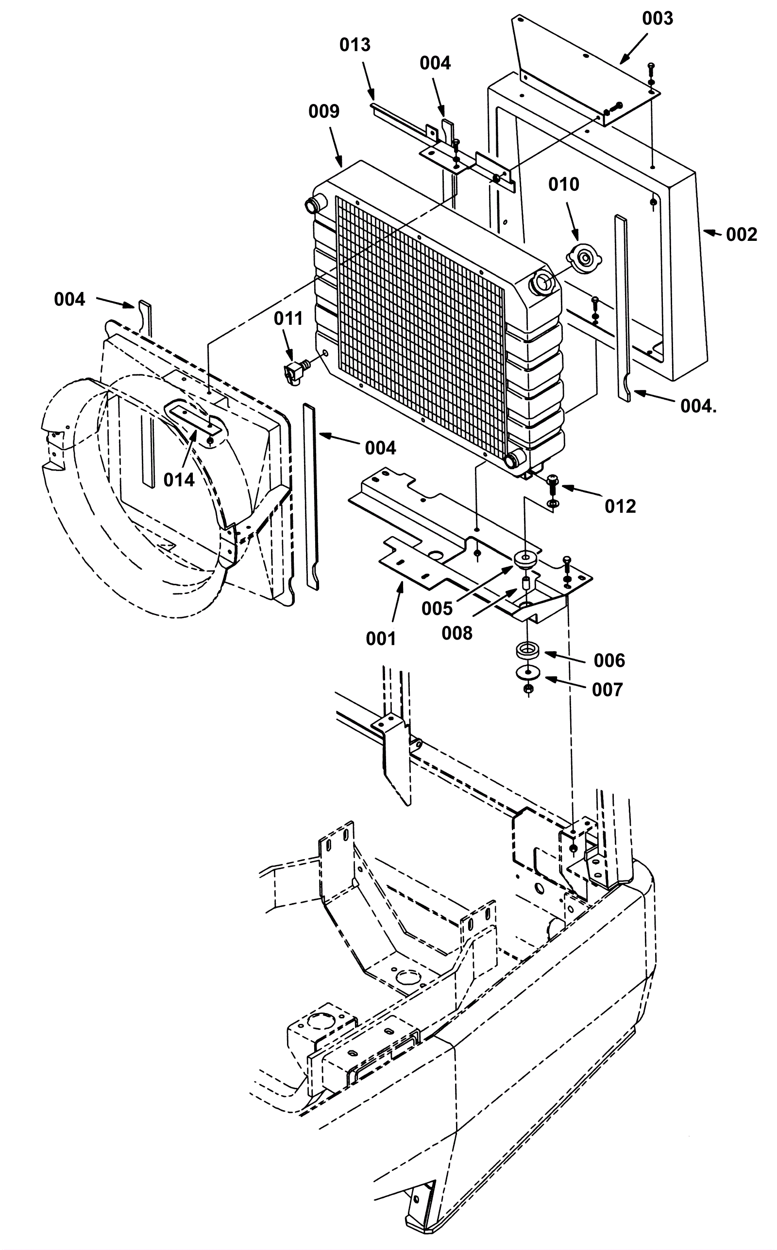
Radiator Group 1
Click to enlarge