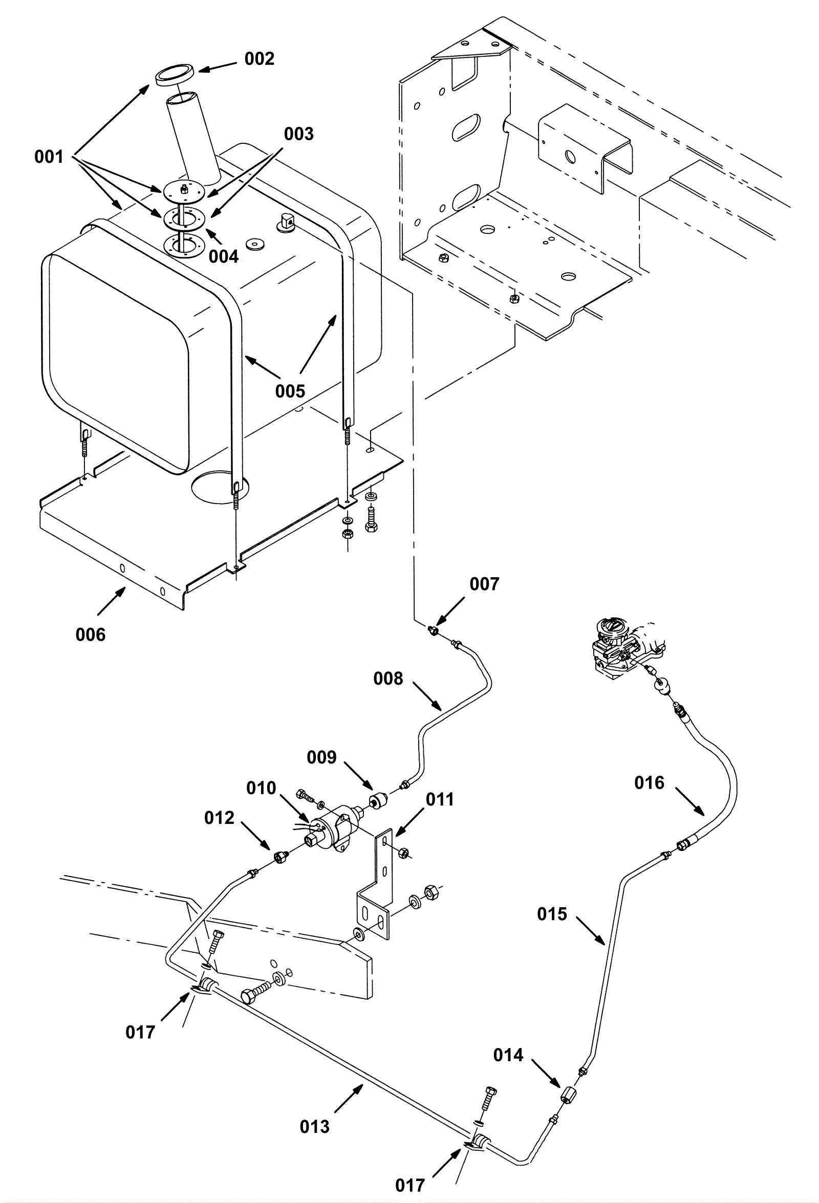
Fuel Tank Group, Gas 2
Click to enlarge