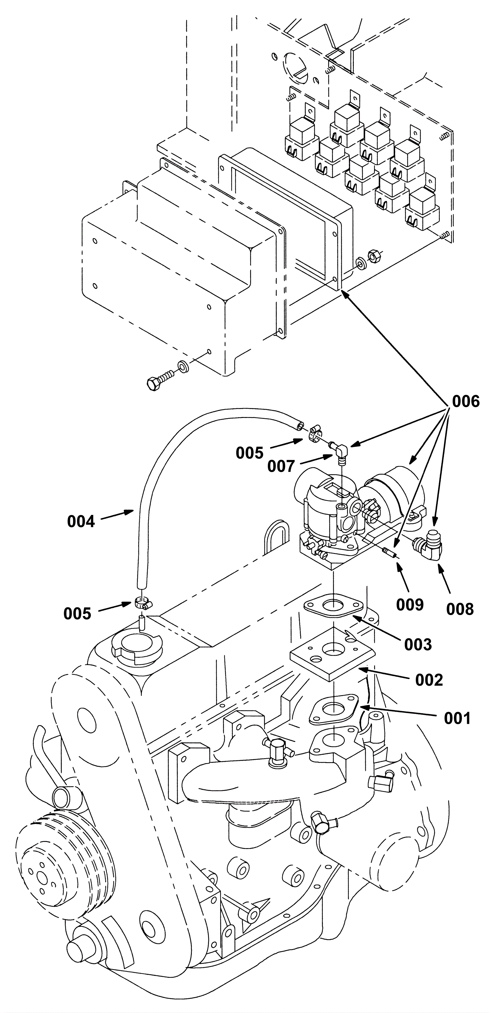
Carburetor and Governor Group, LPG 2
Click to enlarge