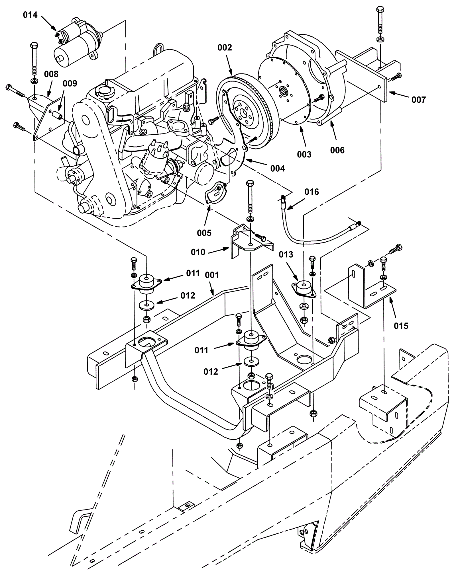
Engine Mount Group 1
Click to enlarge