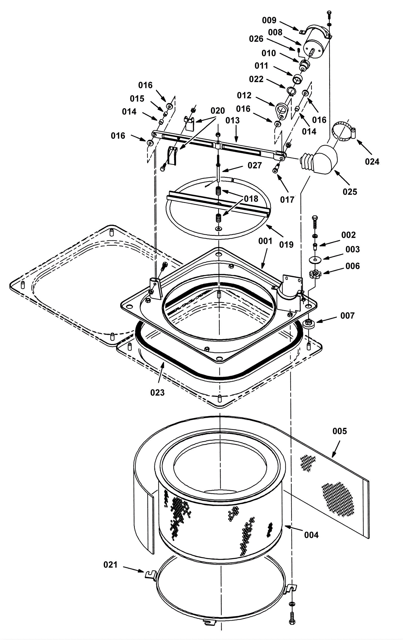
Filter Shaker Group
Click to enlarge