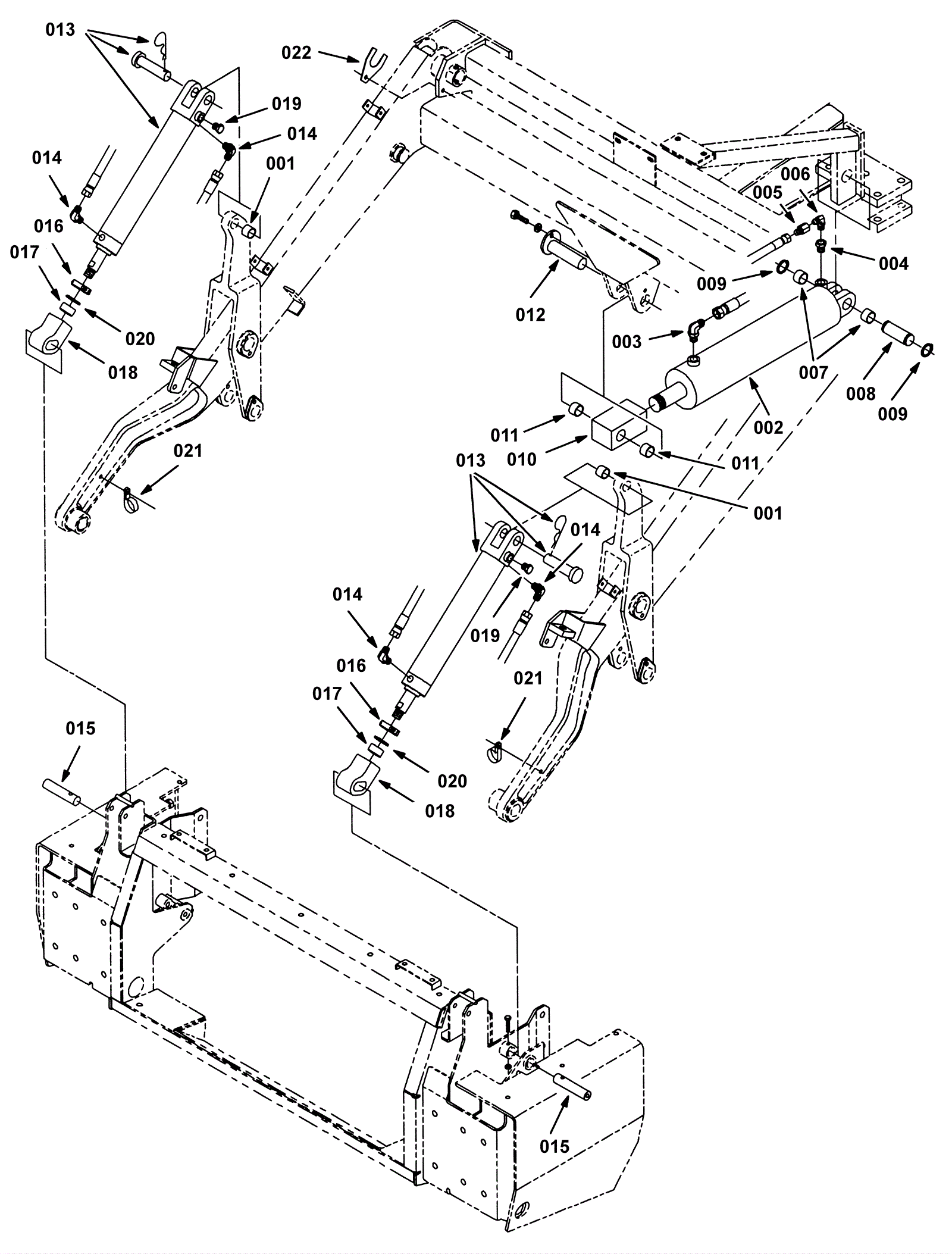
Hopper Lift Cylinders Group 1
Click to enlarge