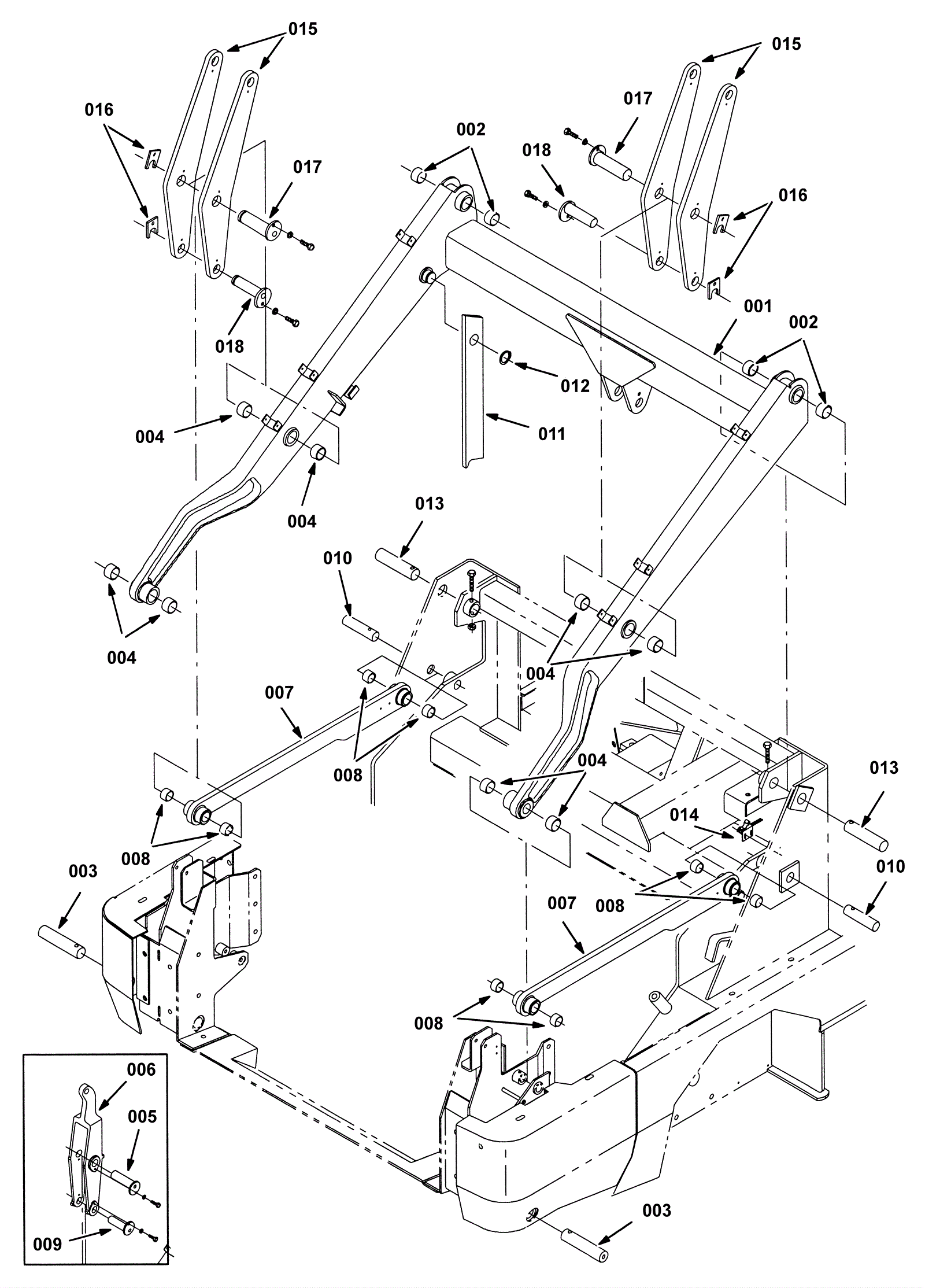
Hopper Lift Arms Group 2
Click to enlarge