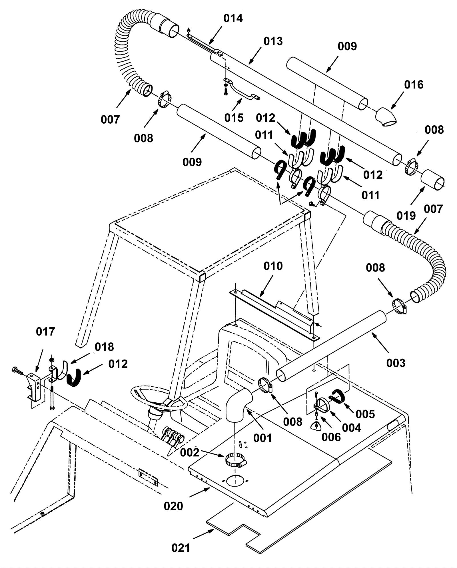
Blower Group
Click to enlarge