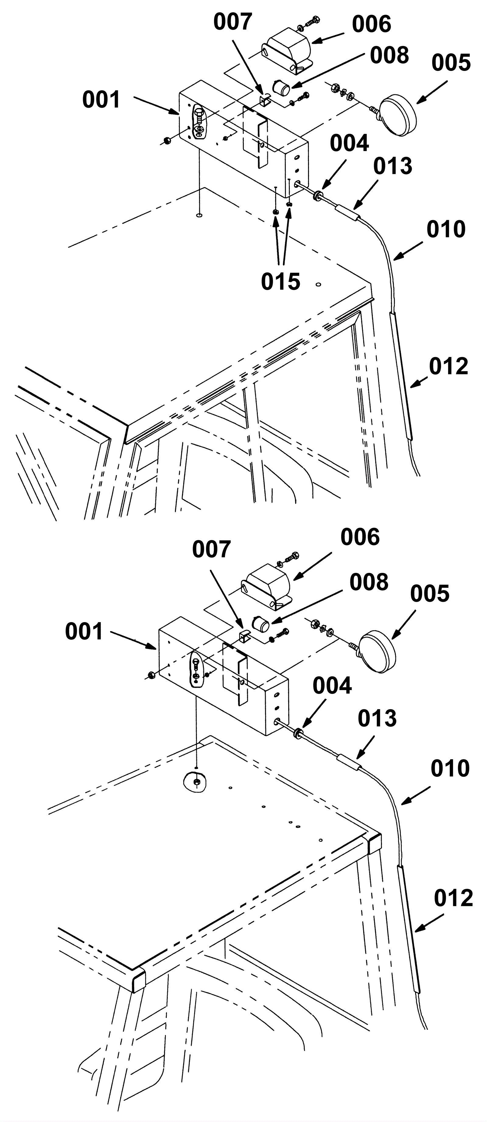
Back-Up Alarm Warning Kit 1
Click to enlarge