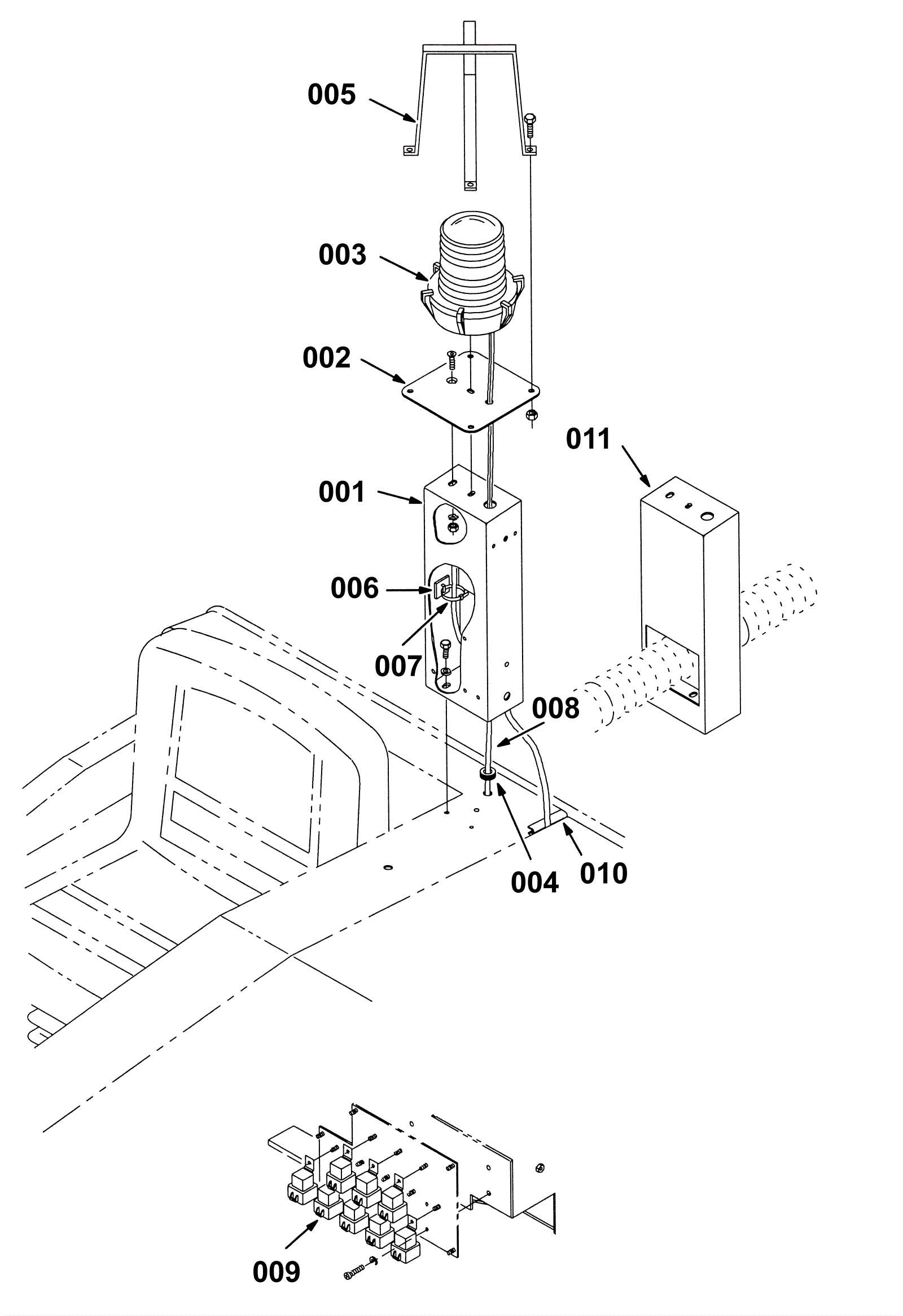
Flashing Light Kit, Low
Click to enlarge