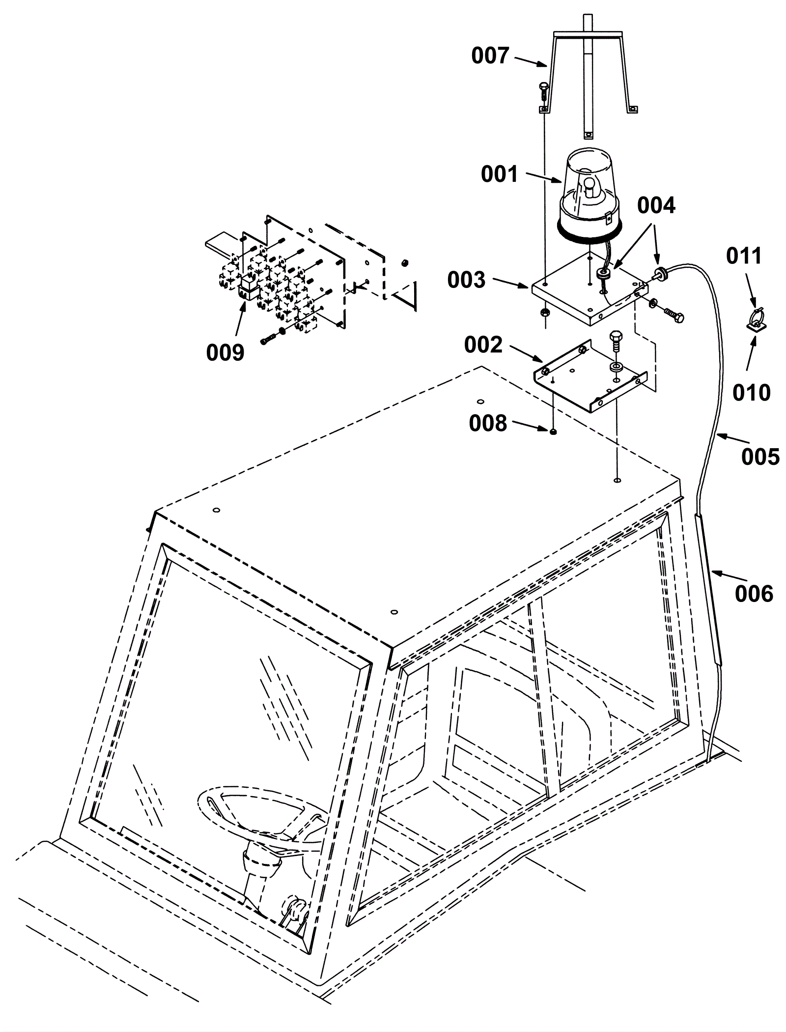
Revolving Light Kit, Cab
Click to enlarge