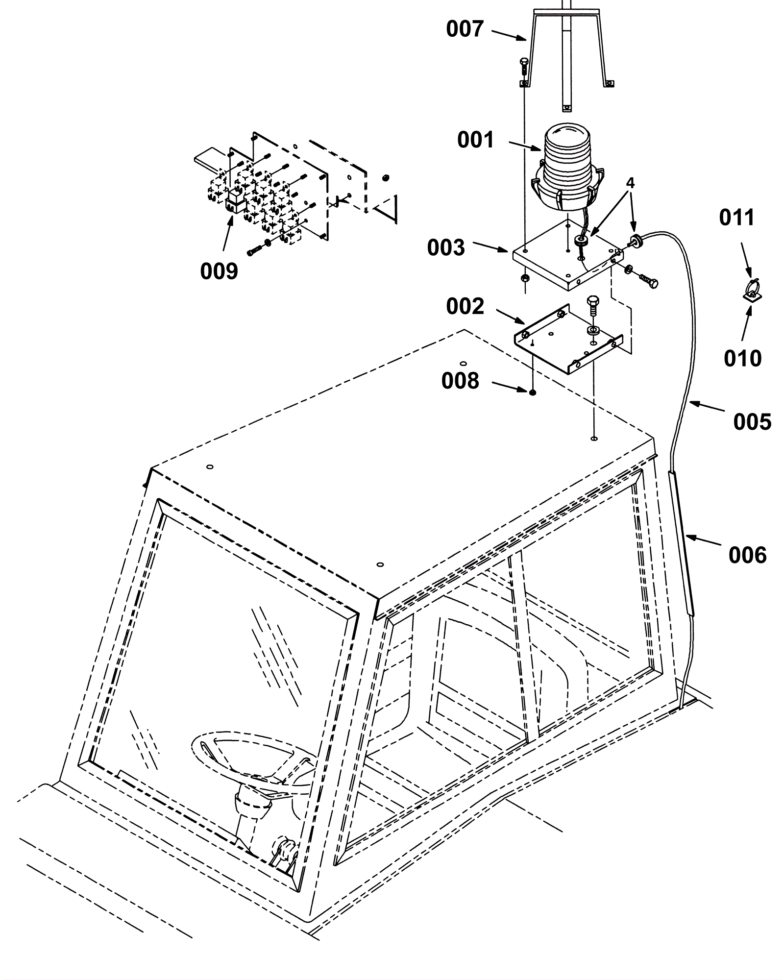
Flashing Light Kit, Cab
Click to enlarge