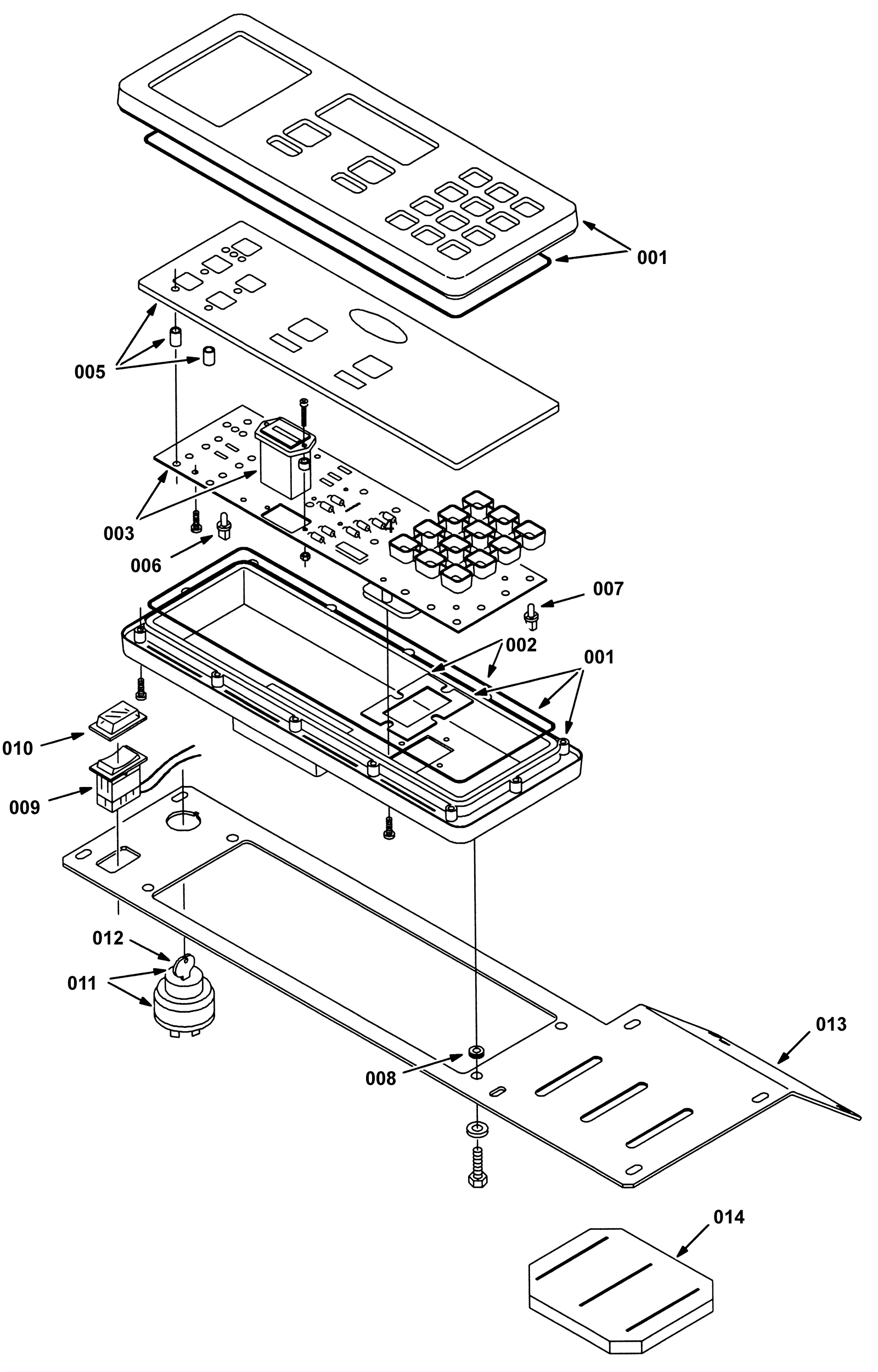
Instrumental panel Assembly
Click to enlarge