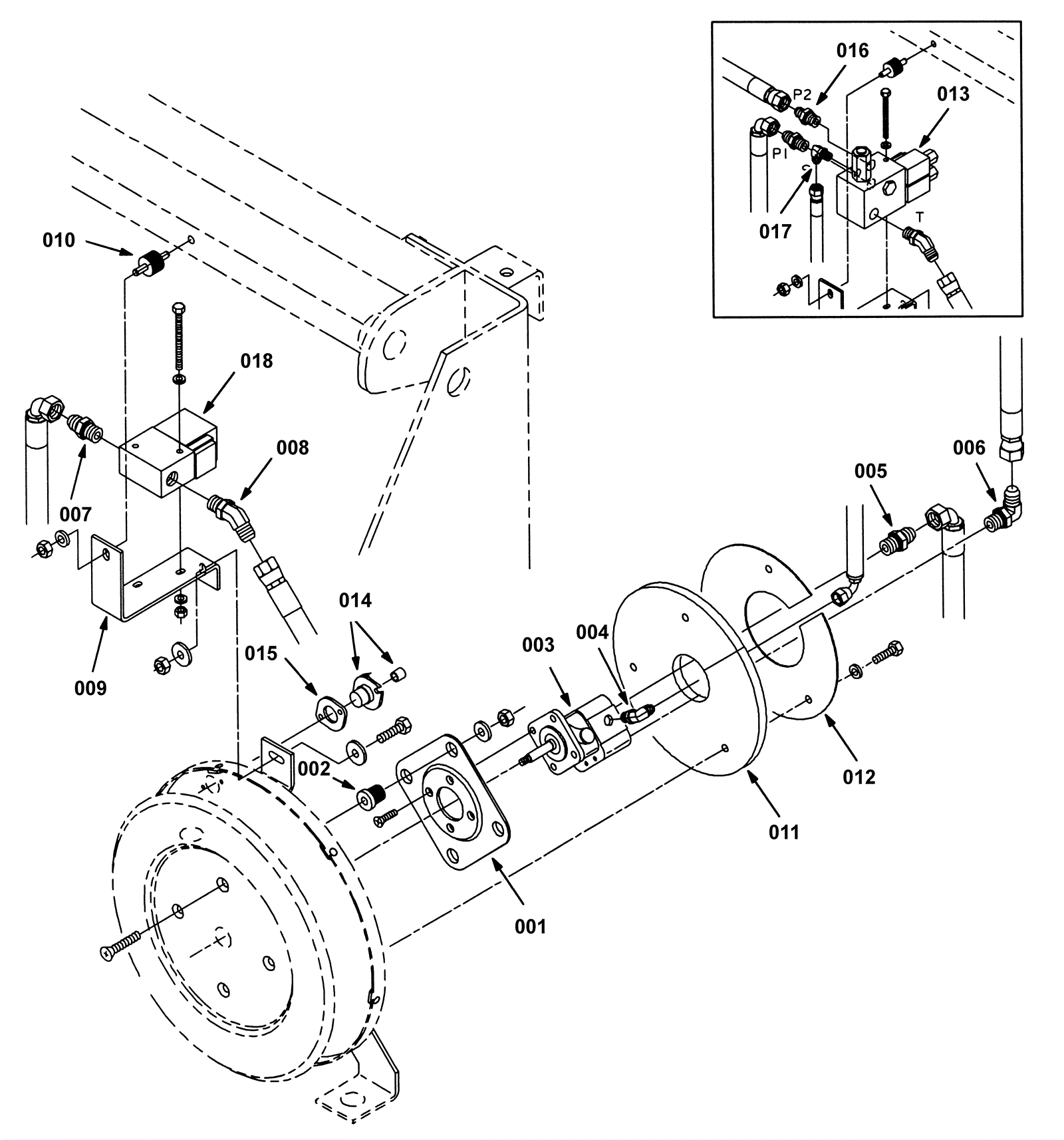
Vacuum Fan Motor Group
Click to enlarge