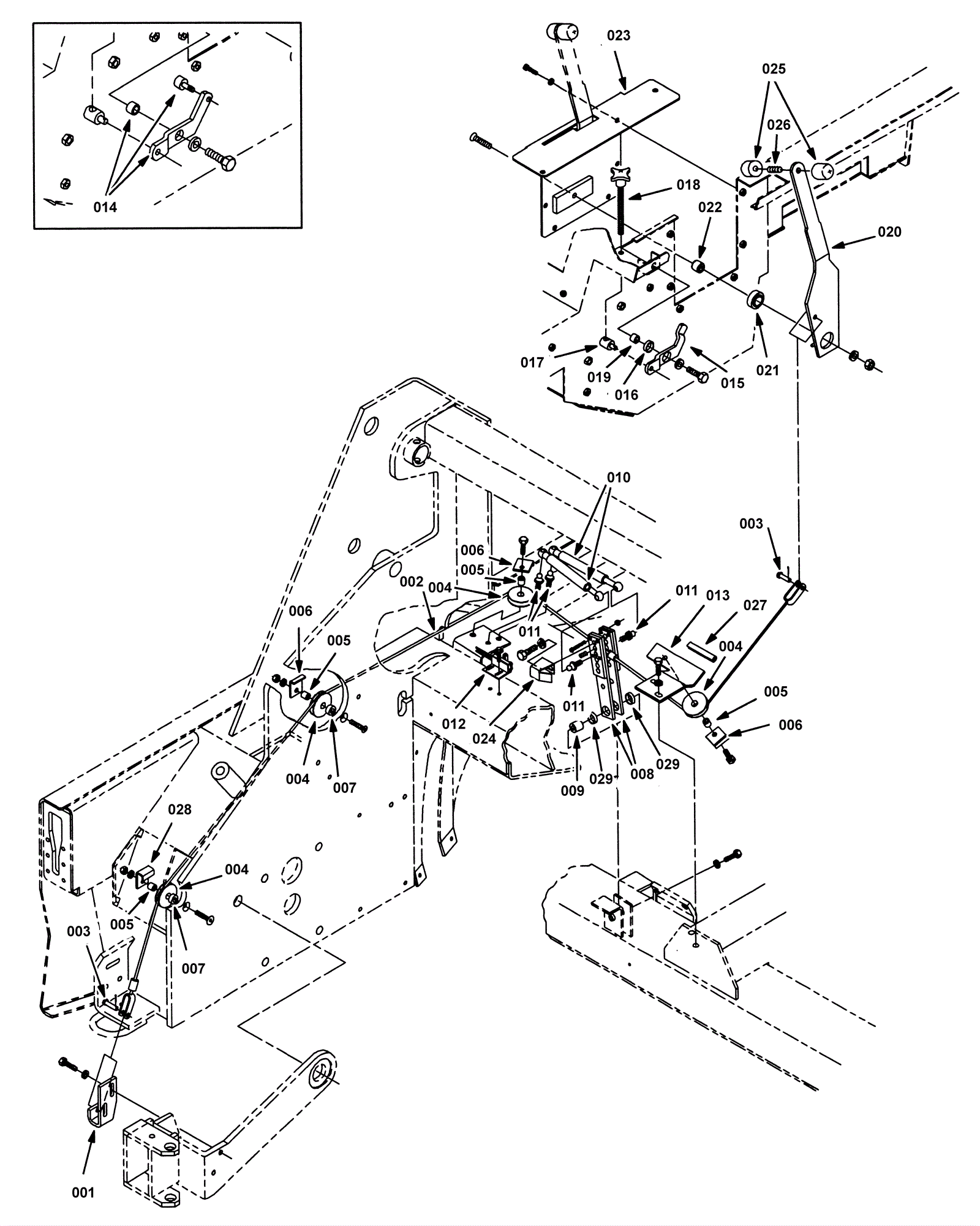
Side Brush Group 2
Click to enlarge