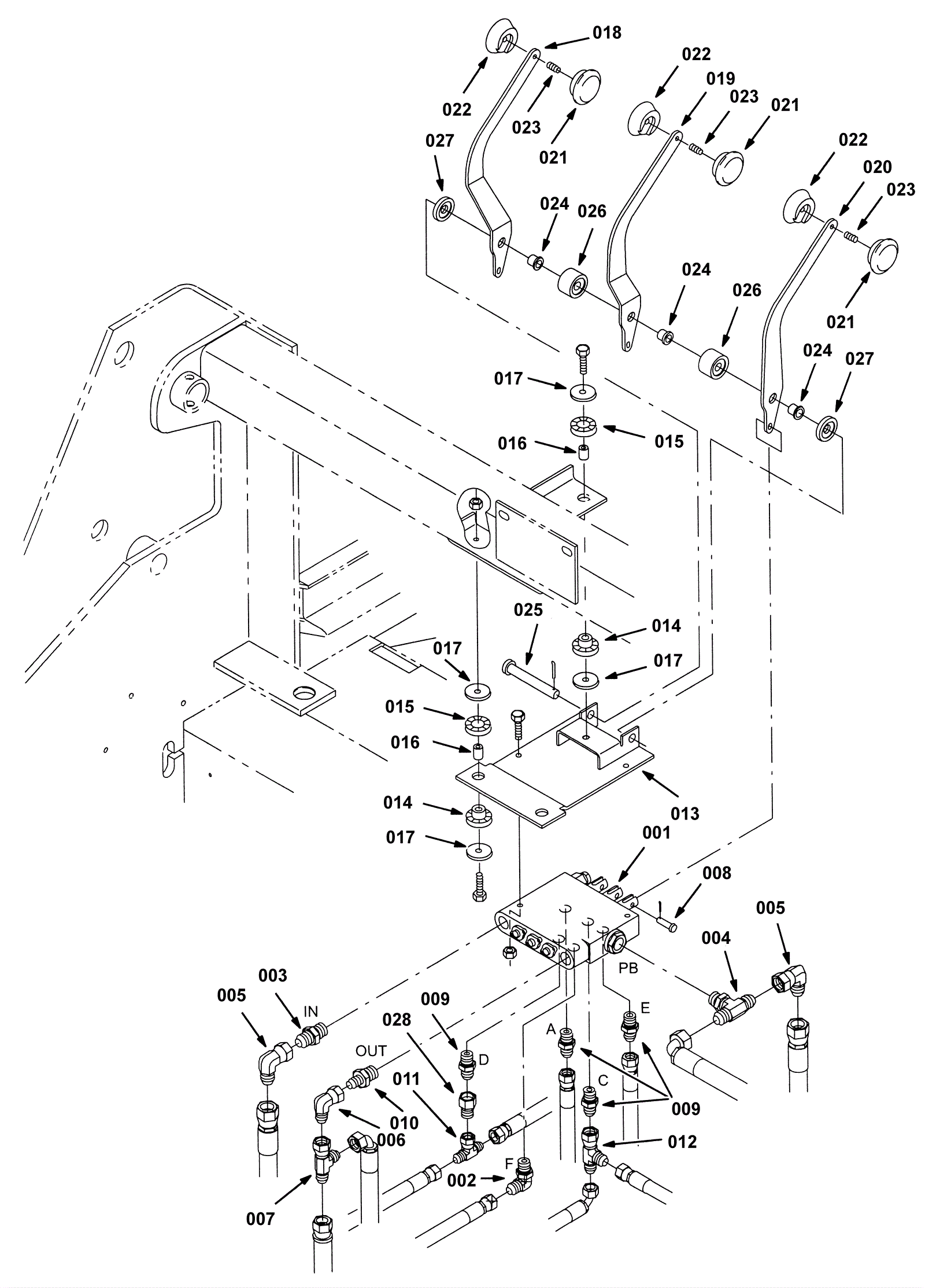
Hydraulic Lift Valve Group
Click to enlarge