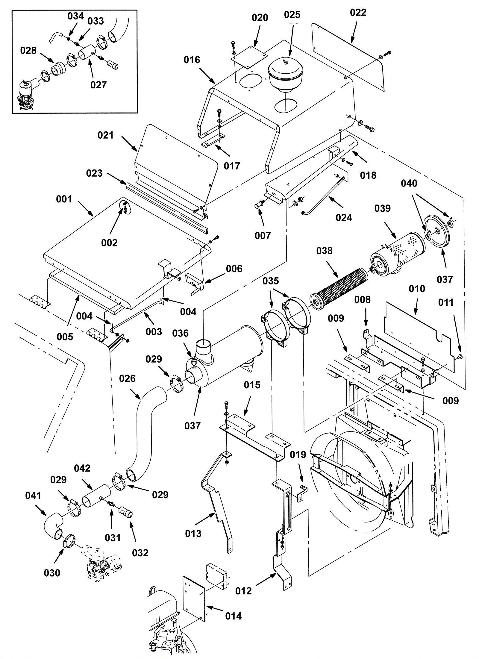
Air Cleaner Assembly, Gas SE
Click to enlarge