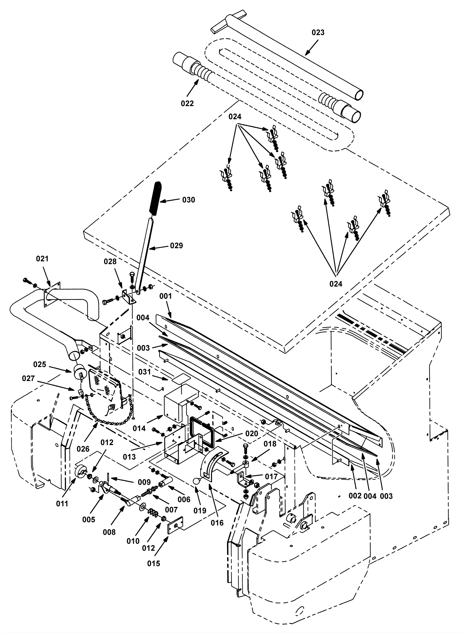
Vacuum Wand Kit (2)
Click to enlarge