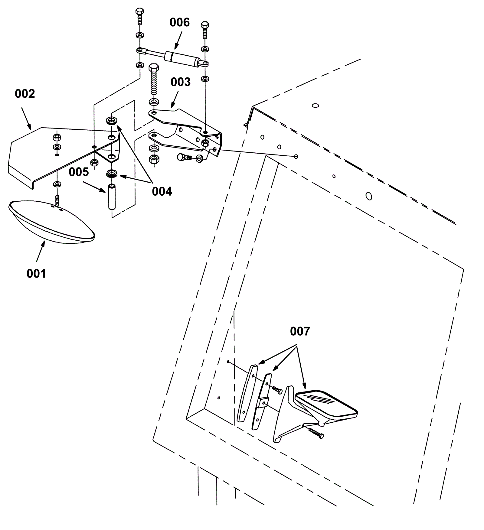
Mirror Kit
Click to enlarge