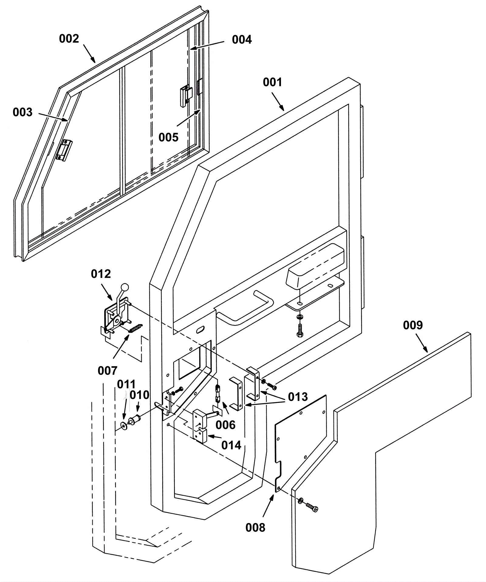
Cab Door Assembly
Click to enlarge