800
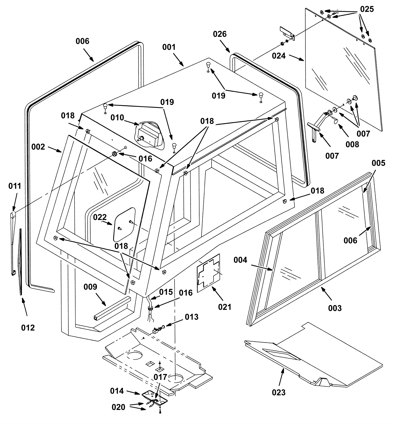
Cab Group
Click to enlarge
#
Part
Description
Price
Req
Notes
Availability
24
675-9883
Rear cab glass pane (Tennant Industrial)
$504.43
1
usually ships 10-13 days