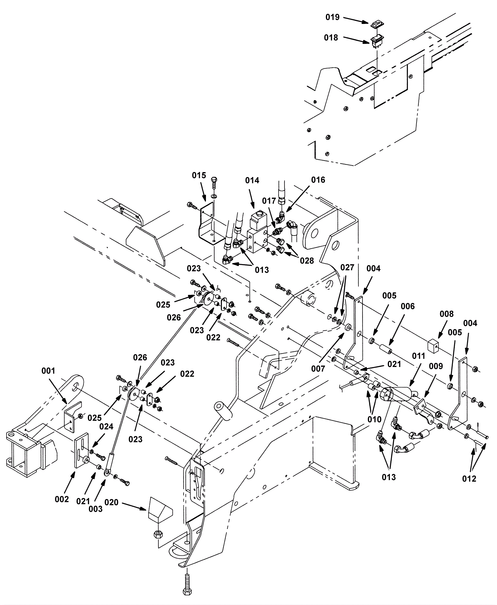
Side Brush Lift Group, L.H. (2)
Click to enlarge