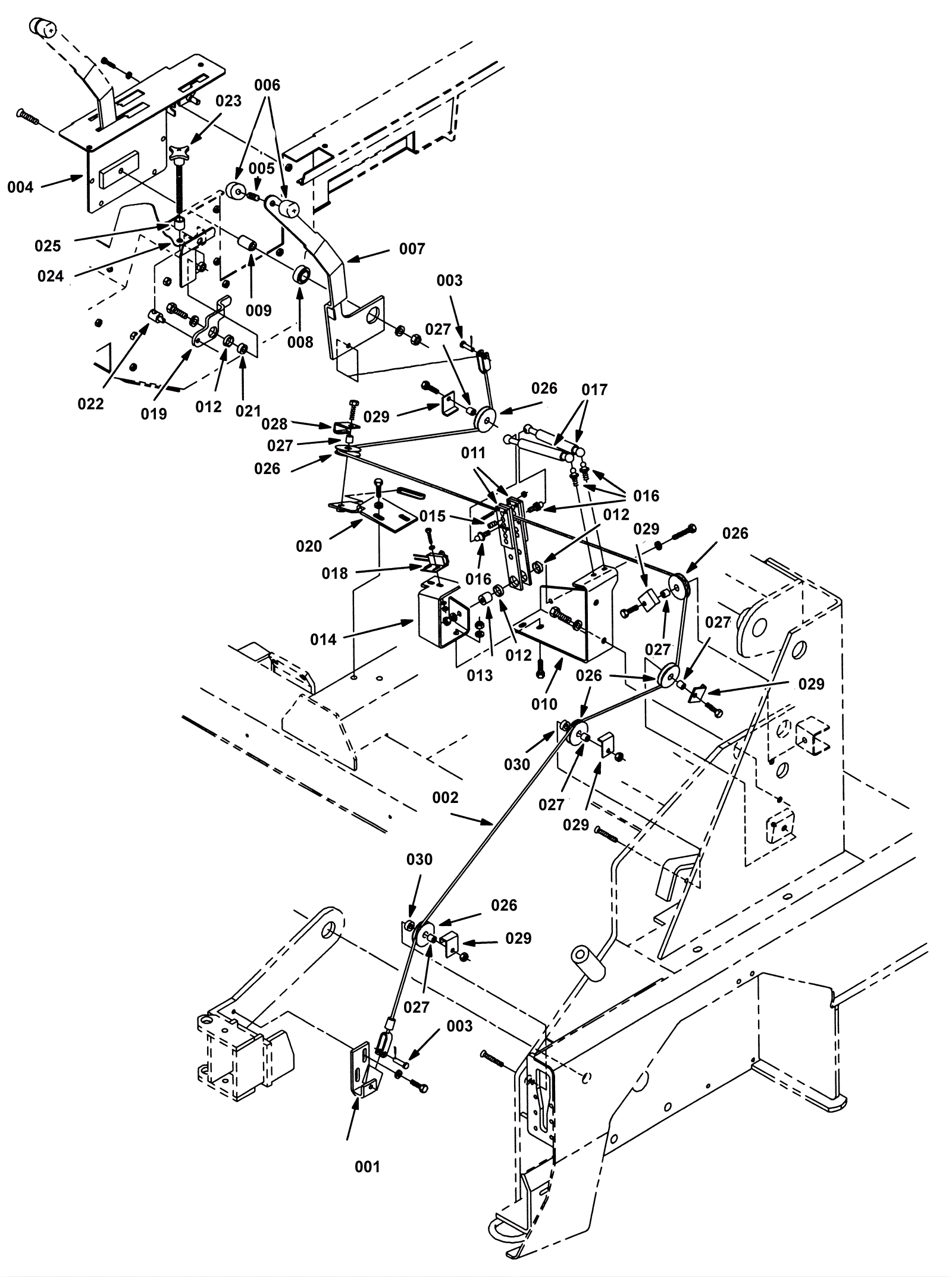
Side Brush Lift Group, L.H. (1)
Click to enlarge