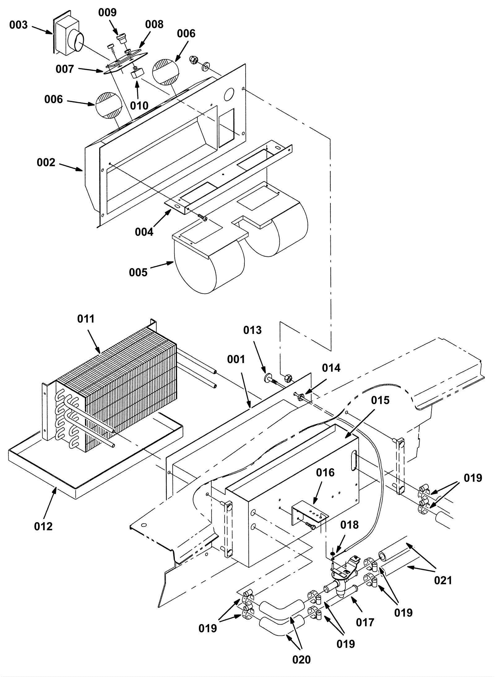
Heater/Pressurizer Breakdown, 21271
Click to enlarge