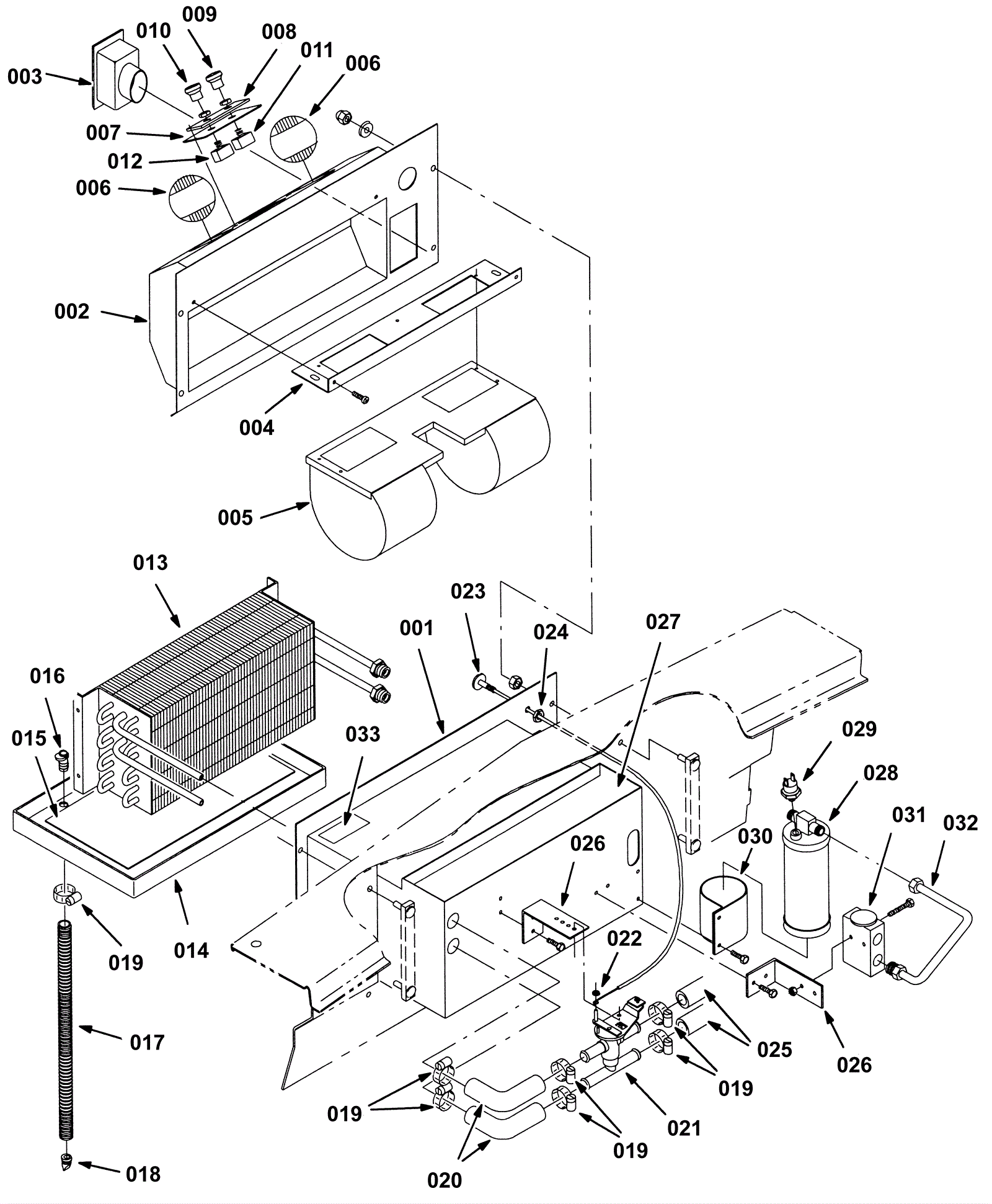
Air Conditioner Breakdown, 21270
Click to enlarge