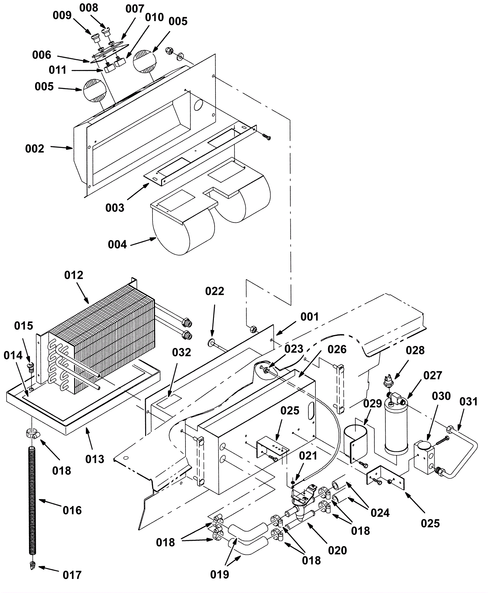
Air Conditioner Breakdown, 77675
Click to enlarge