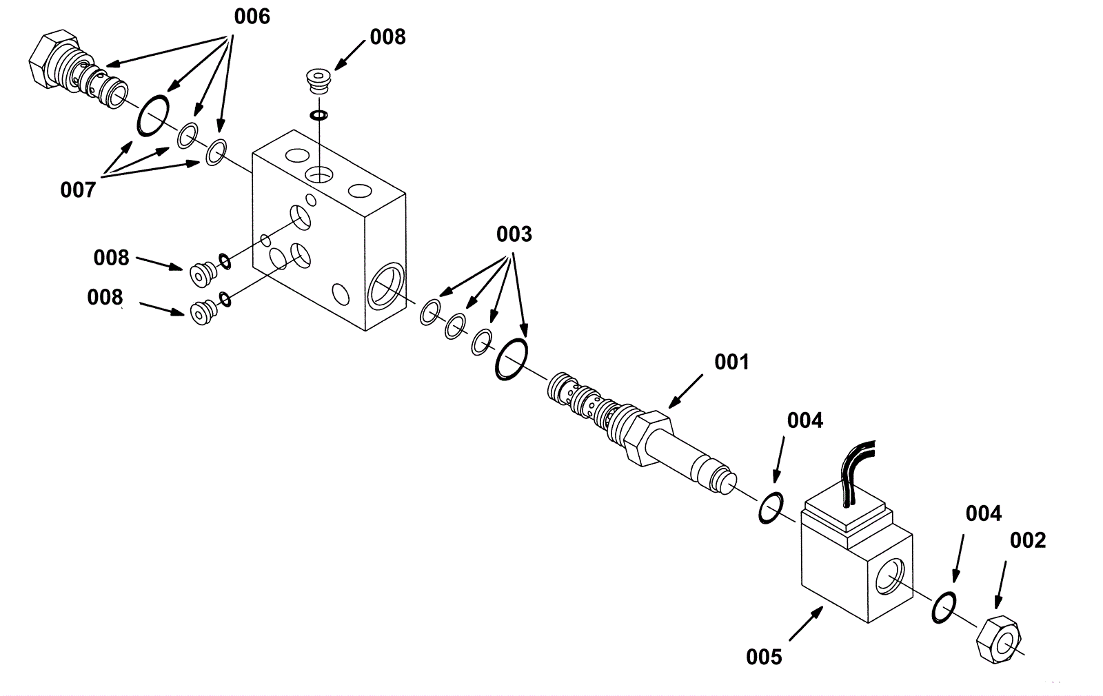
Hydraulic Solenoid Valve Breakdown, 84016
Click to enlarge