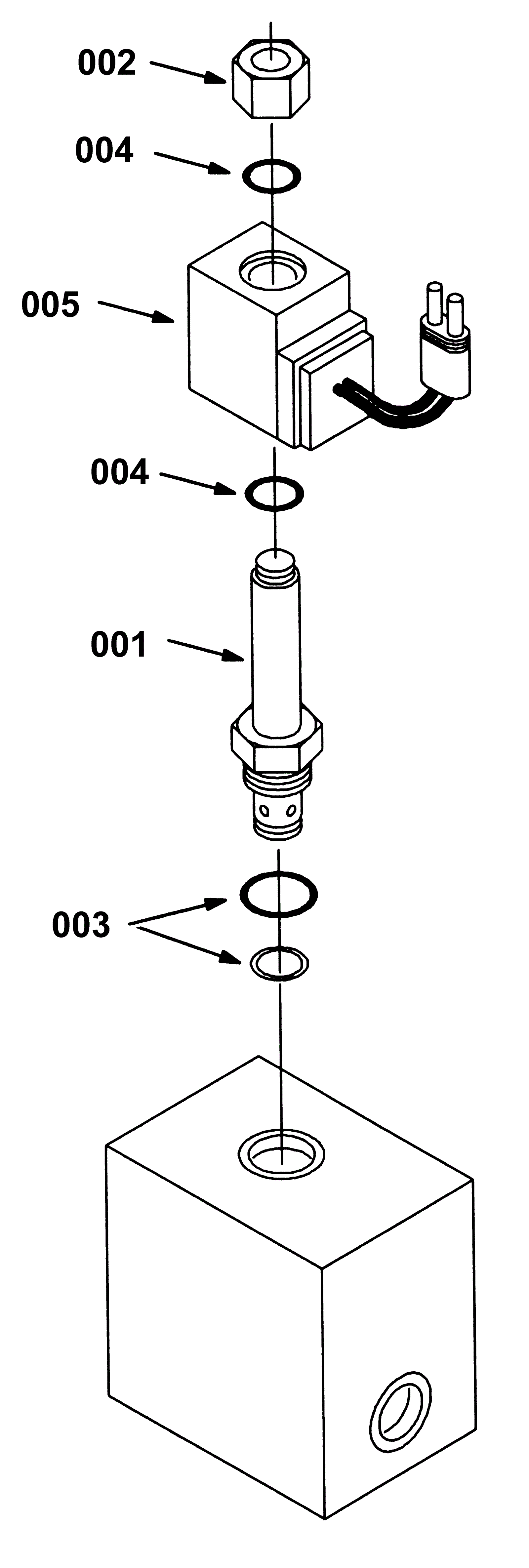
Hydraulic Solenoid Valve Breakdown, 84015
Click to enlarge