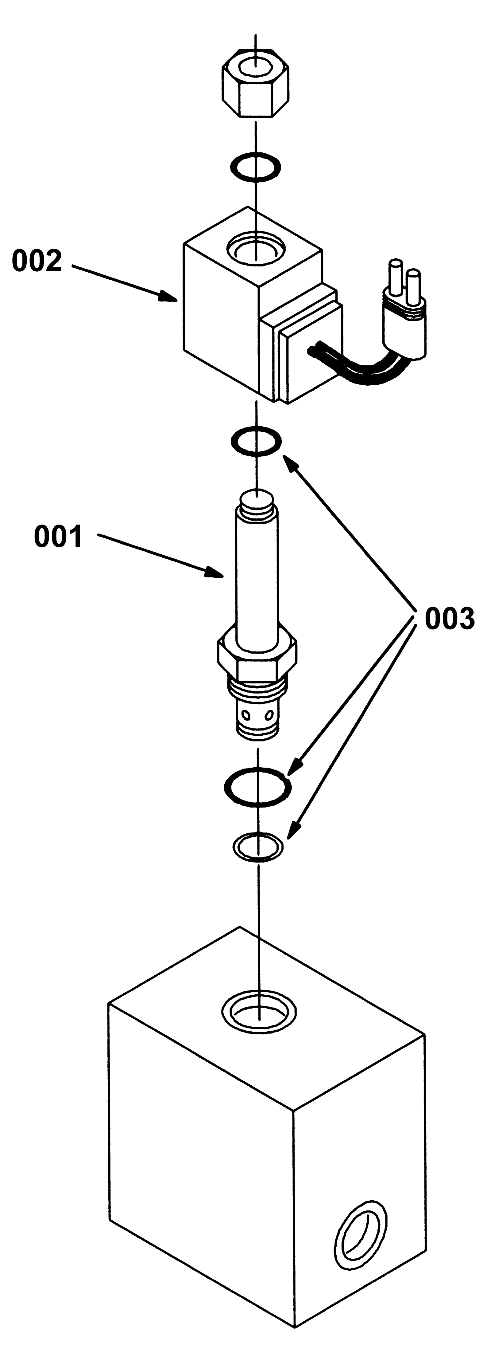
Hydraulic Solenoid Valve Breakdown, 65391
Click to enlarge