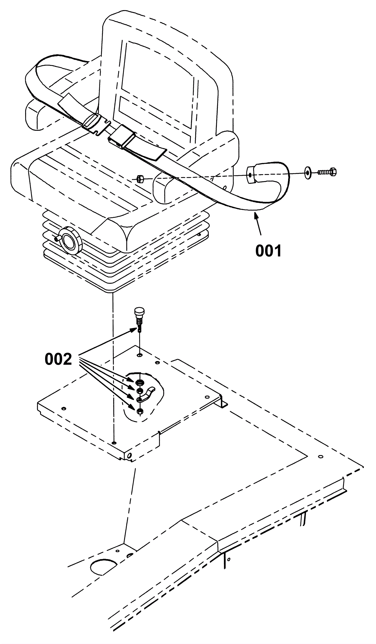
Seat Belt Kit
Click to enlarge