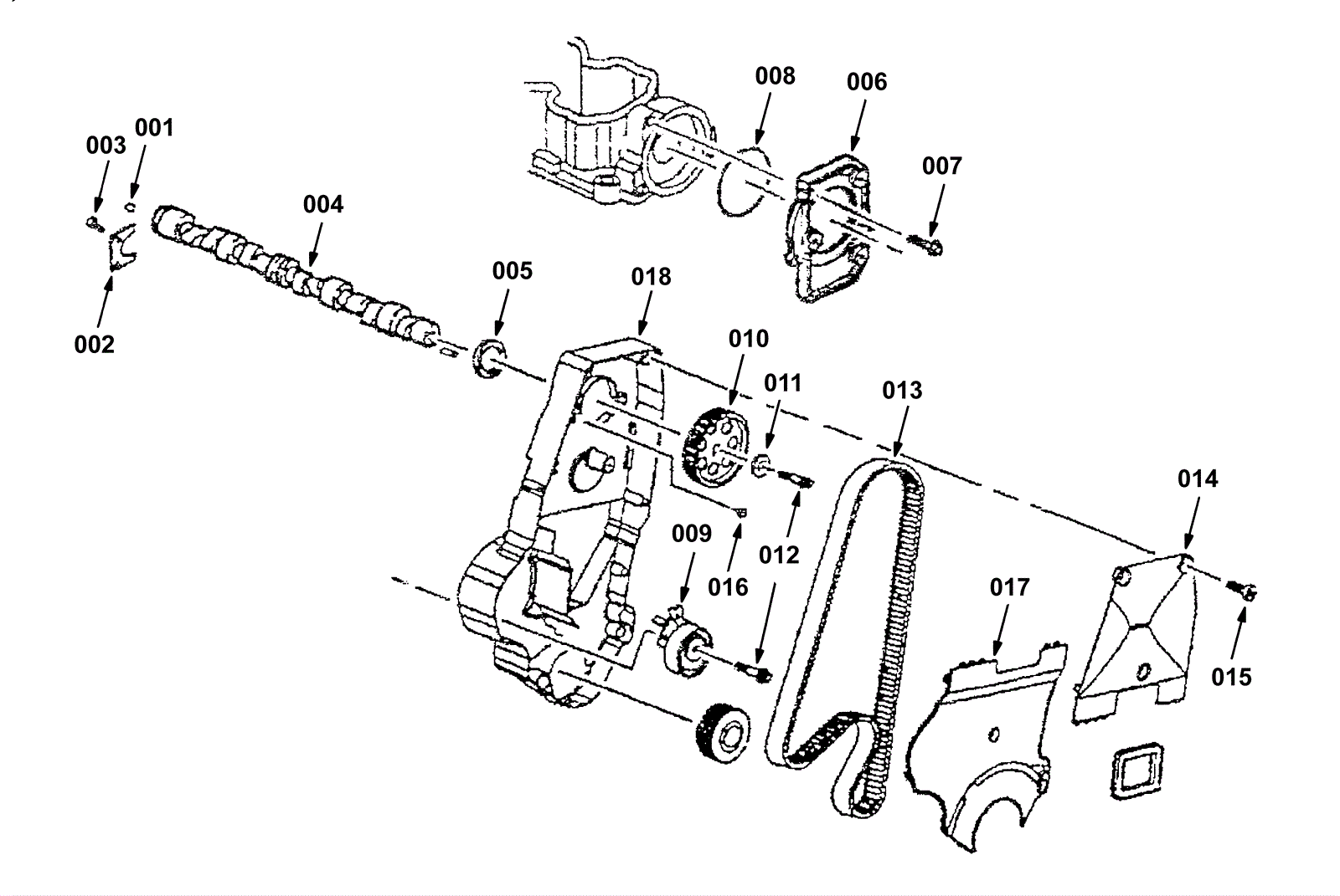
Camshaft Group
Click to enlarge