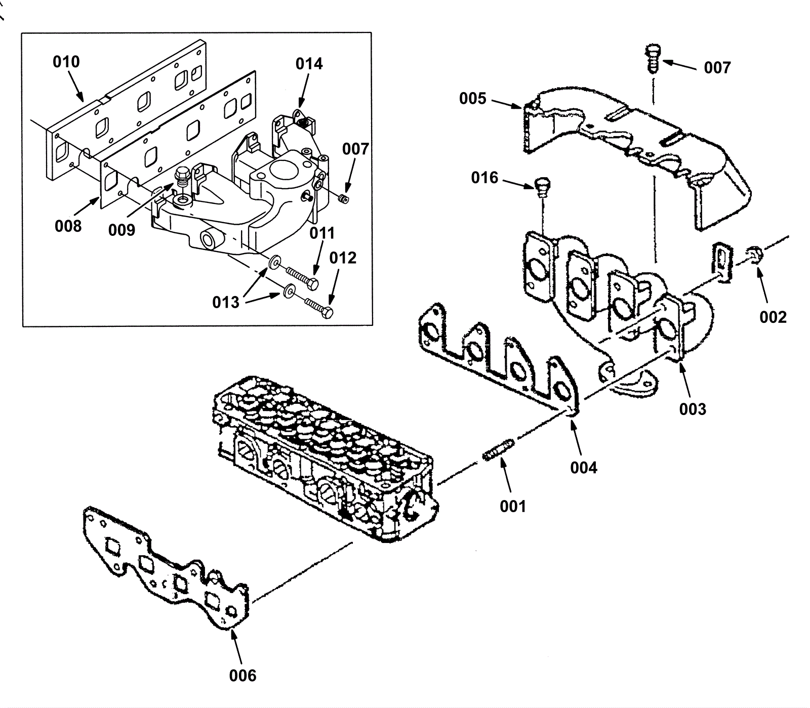
Manifold Group
Click to enlarge