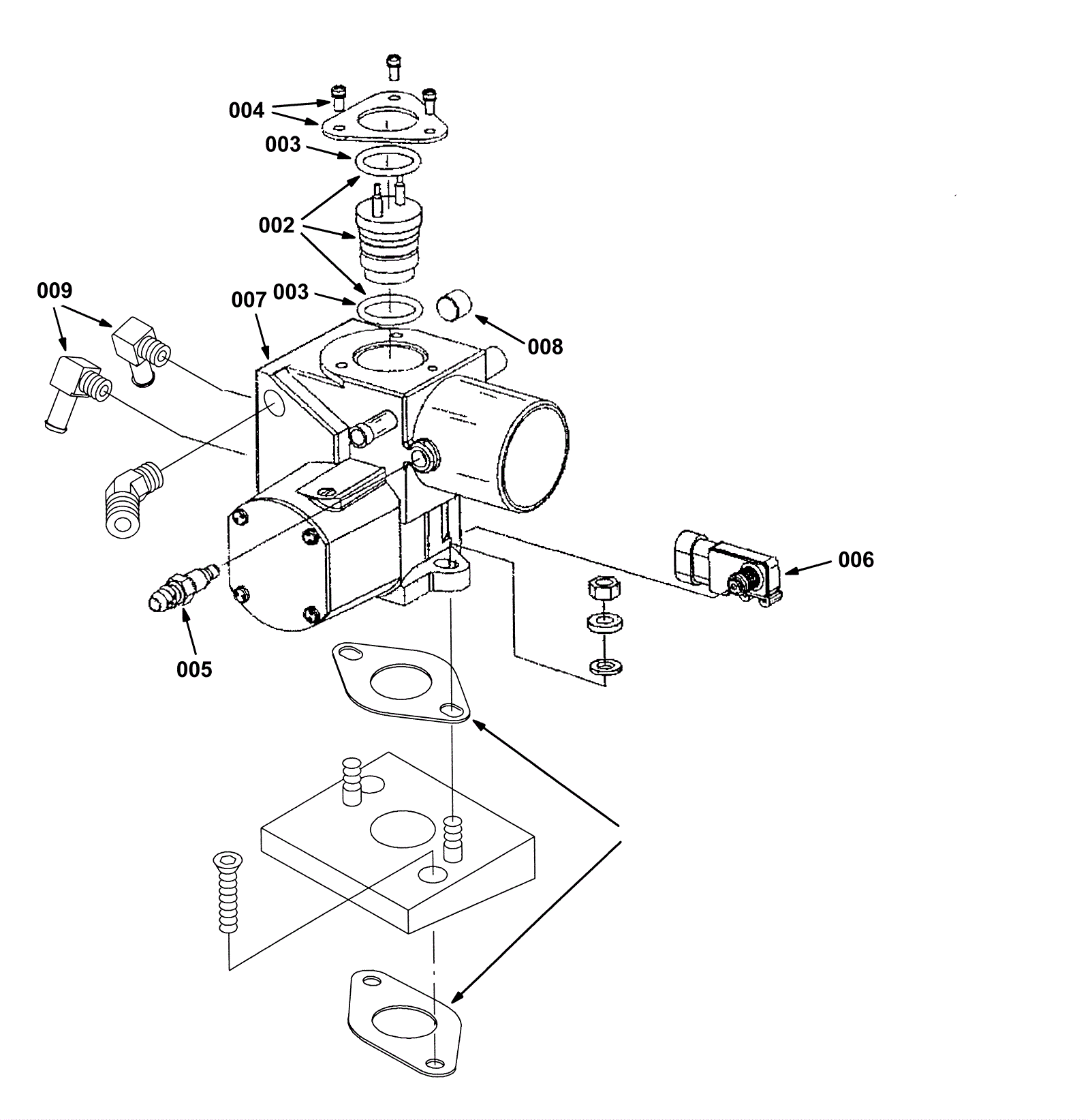
LPG Electronic Fuel Ignition Breakdown - 371917
Click to enlarge