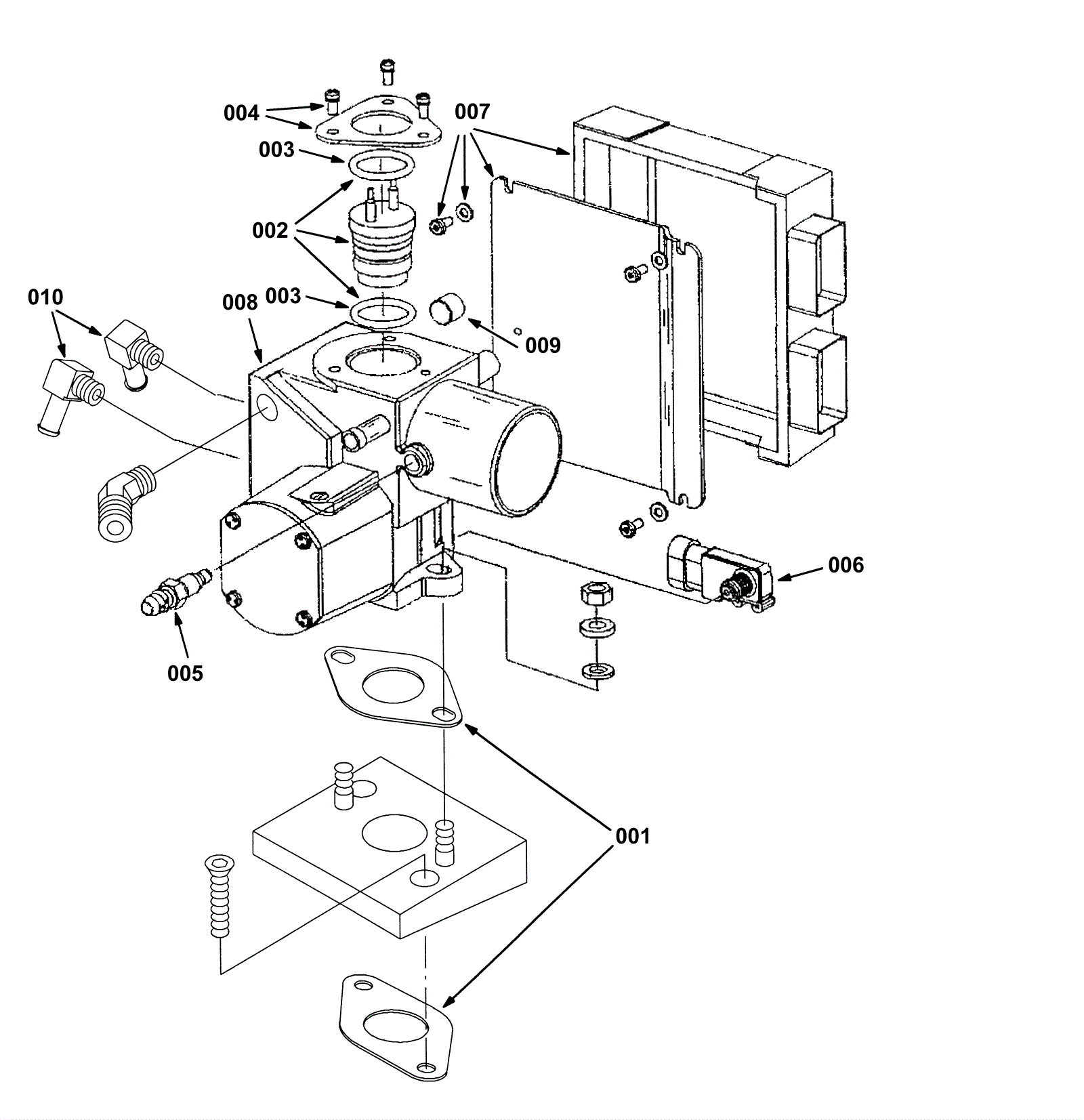
LPG Electronic Fuel Ignition Breakdown - 371916
Click to enlarge