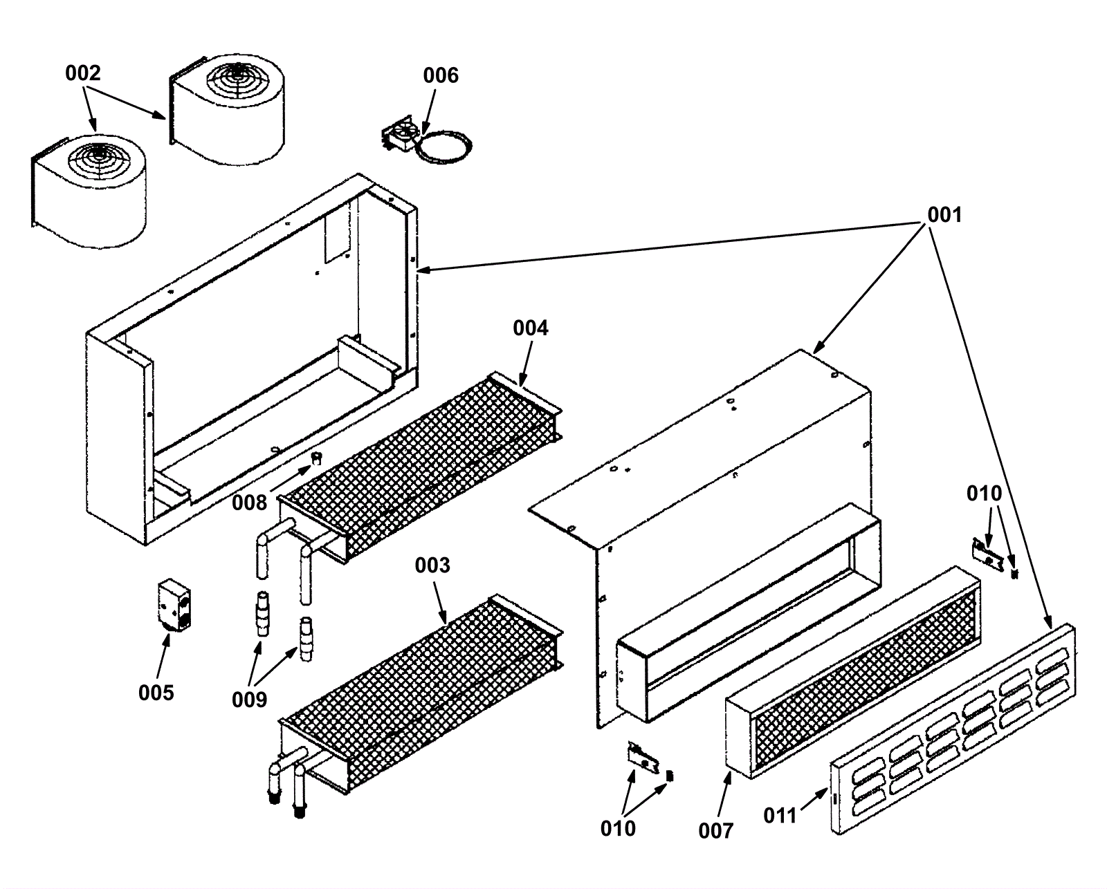
Air Conditioning Evaporator - Heater Breakdown - 393339
Click to enlarge