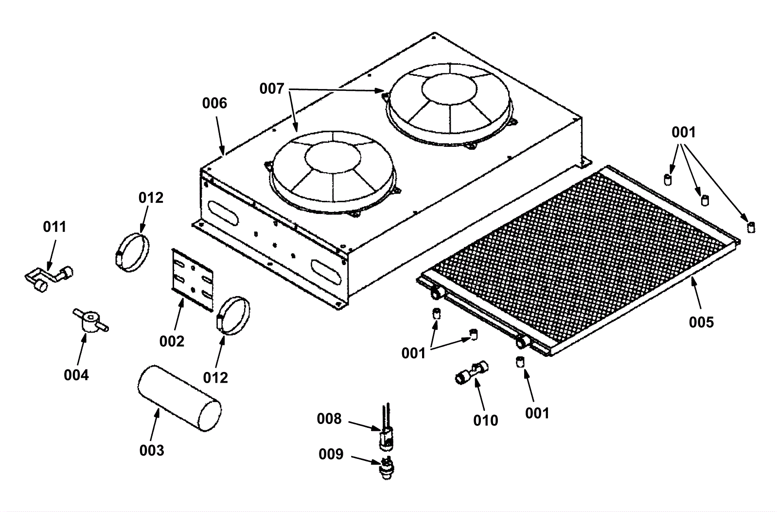
Air Conditioning Condenser Breakdown - 393340
Click to enlarge