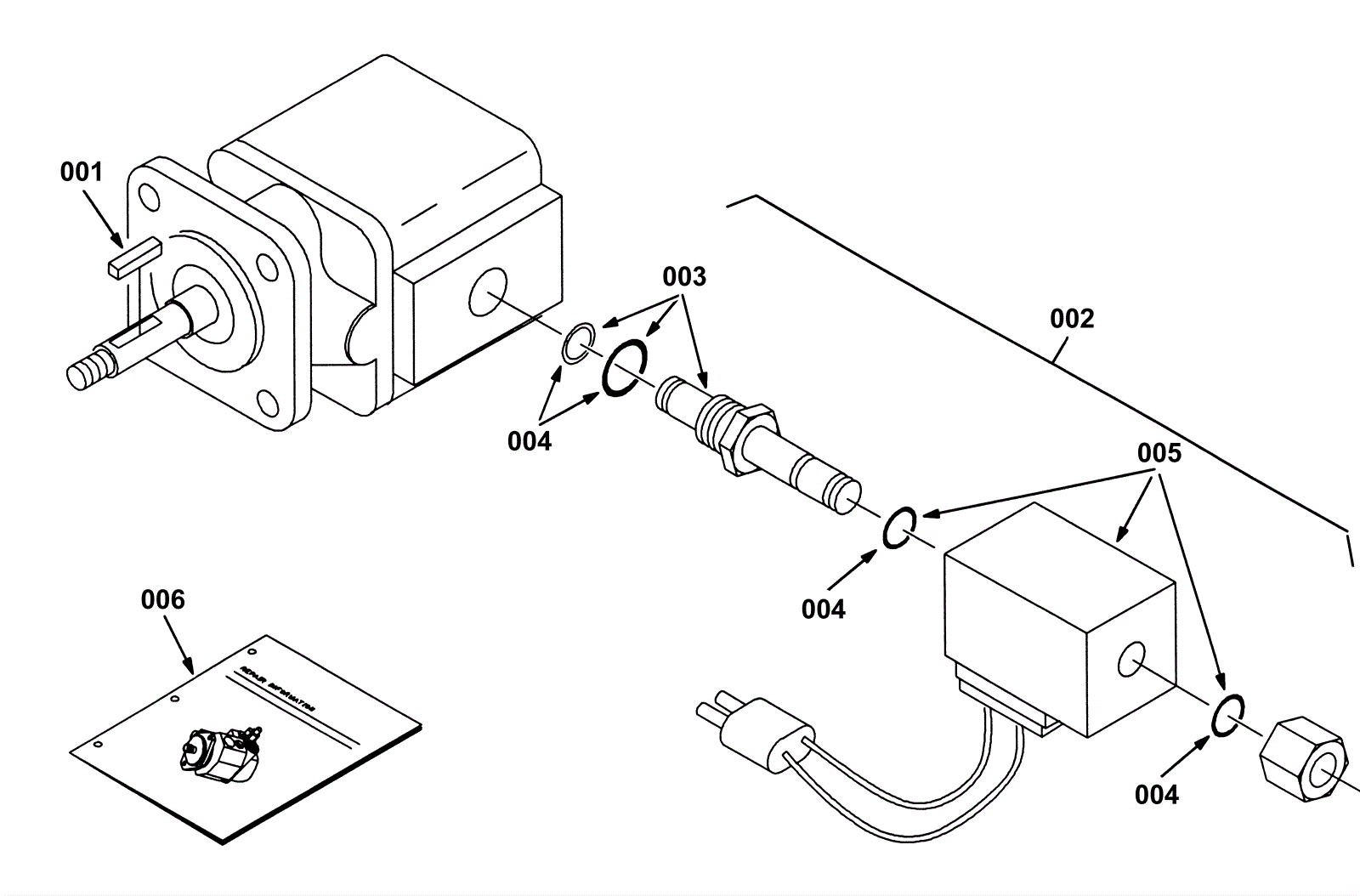
Hydraulic Motor Breakdown - 53485
Click to enlarge