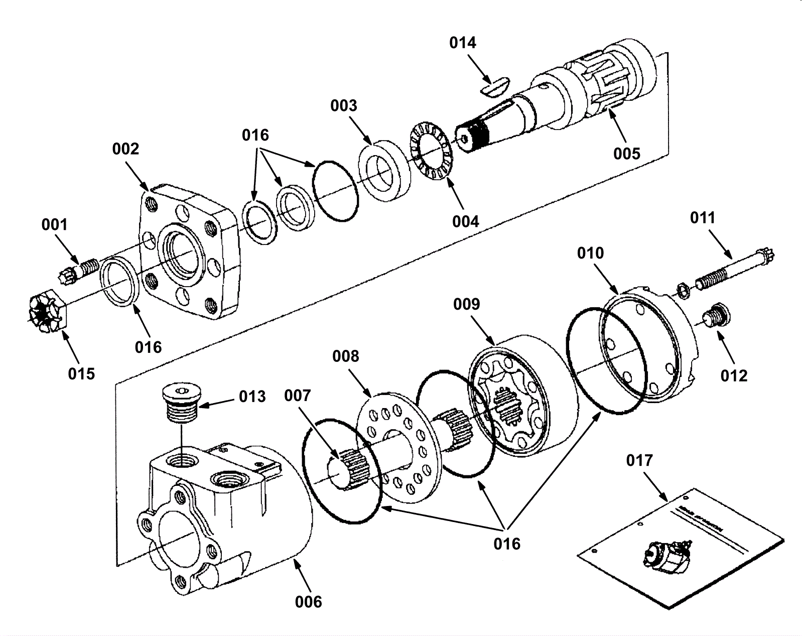
Hydraulic Motor Breakdown - 379608
Click to enlarge