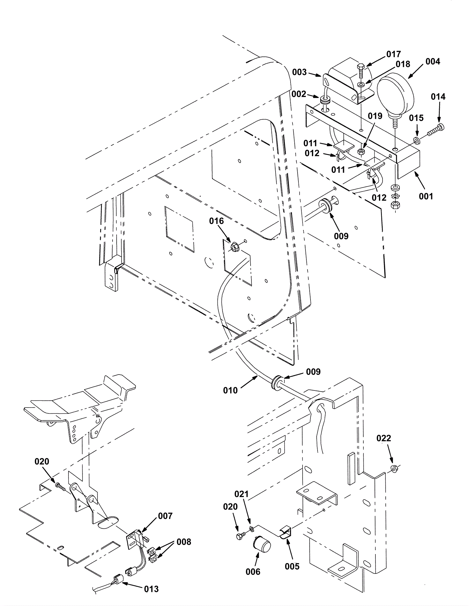
Cab - Back-Up Alarm Kit
Click to enlarge