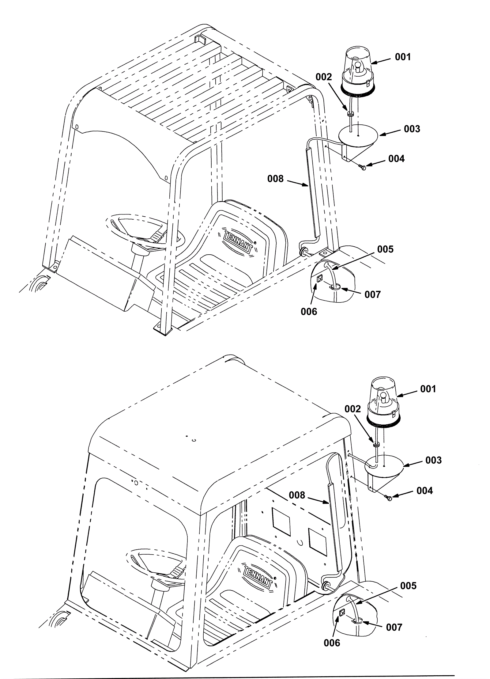
Flush Mounting - Revolving Light Kit
Click to enlarge