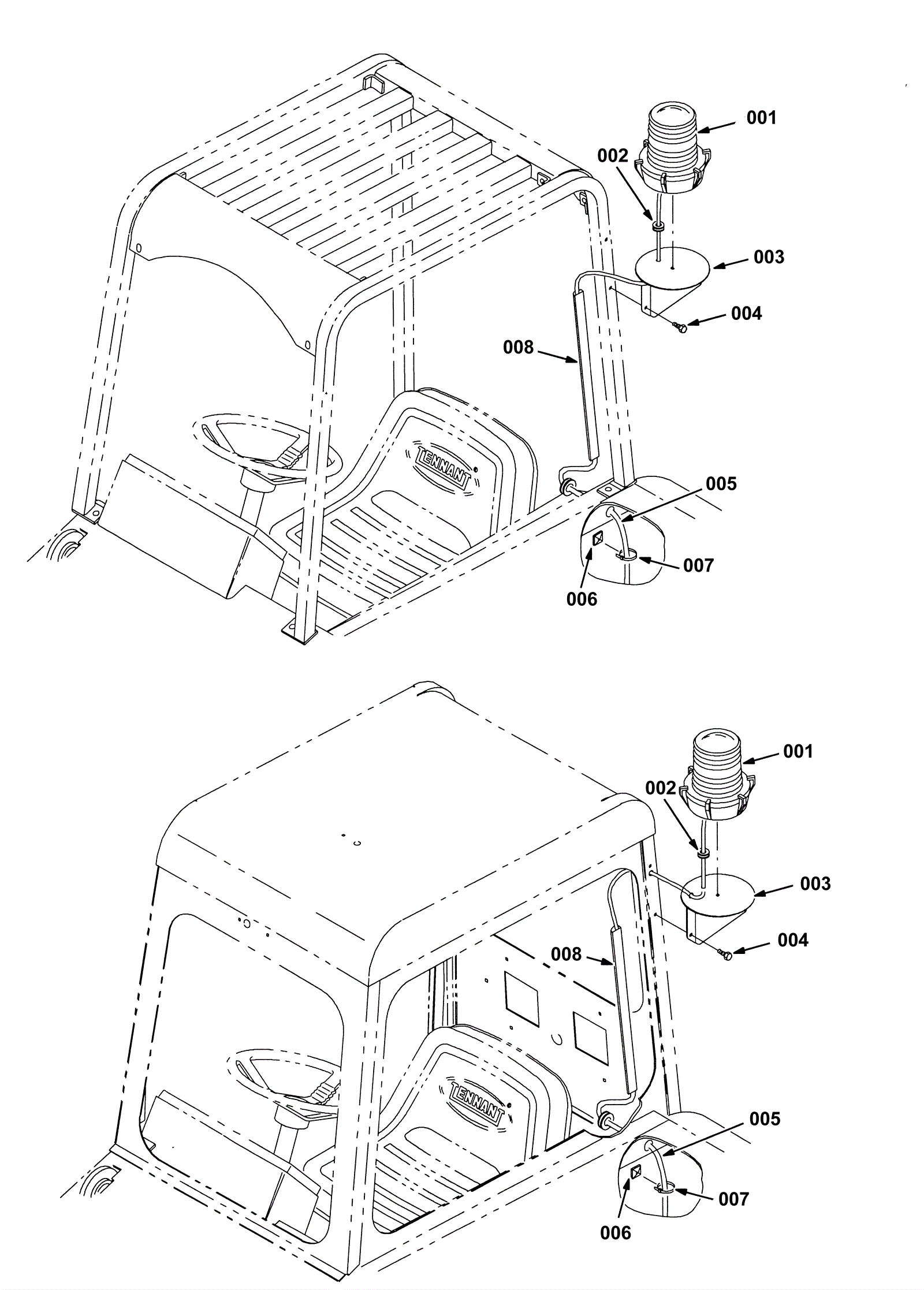
Flush Mounting - Flashing Light Kit
Click to enlarge