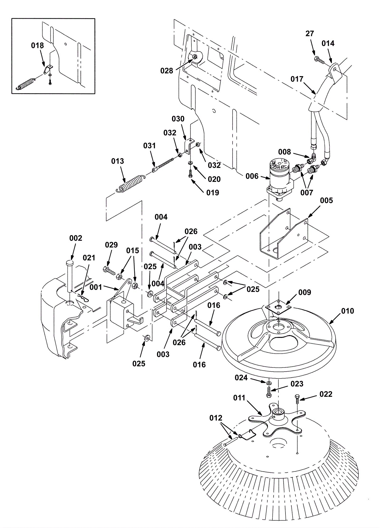
Side Brush Motor and Pivot Group
Click to enlarge