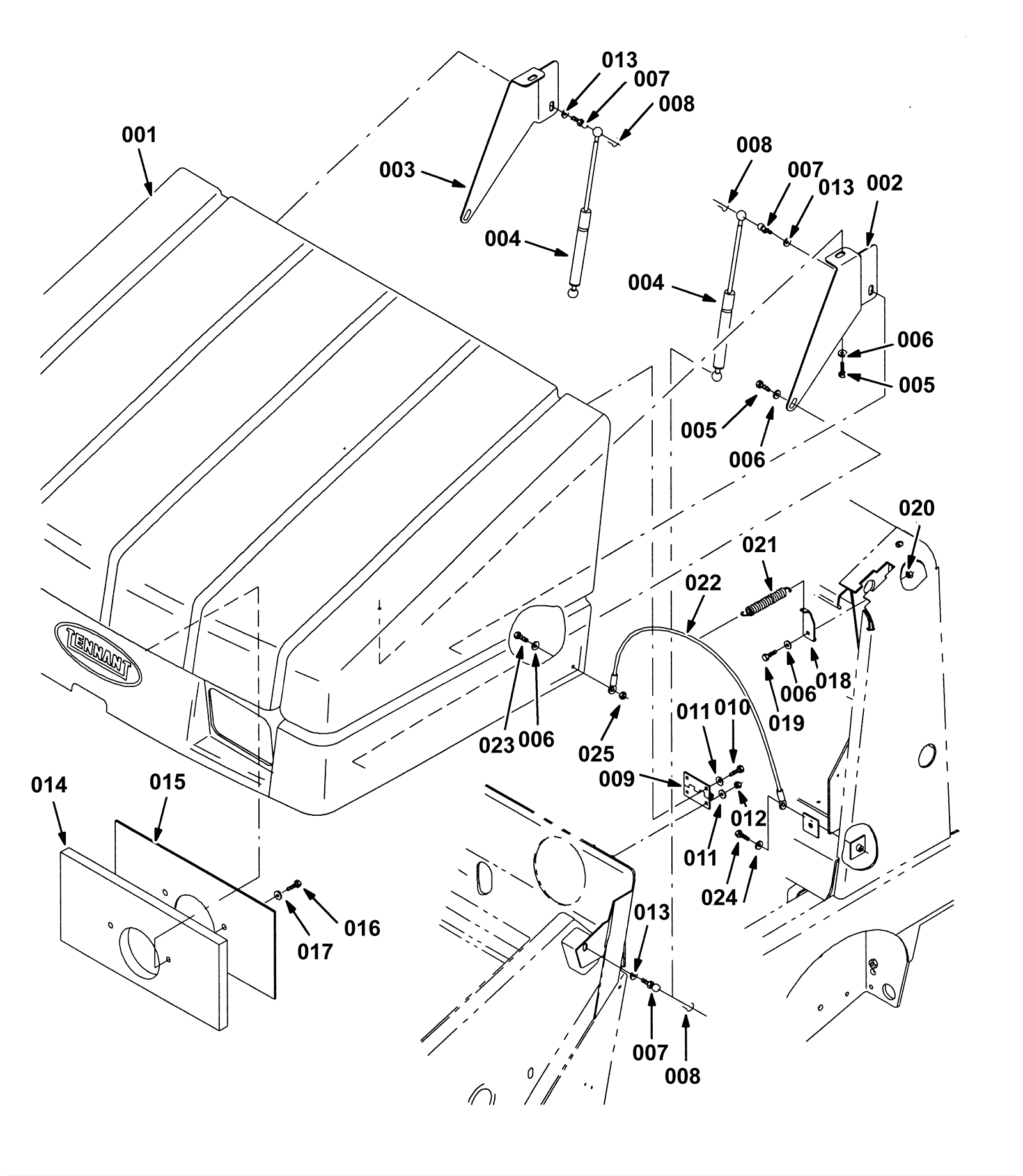
Hopper Hood Group
Click to enlarge