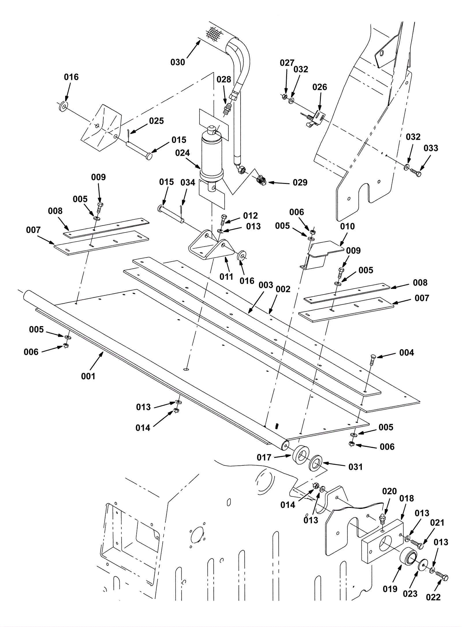
Hopper Cylinder and Dump Door Group
Click to enlarge