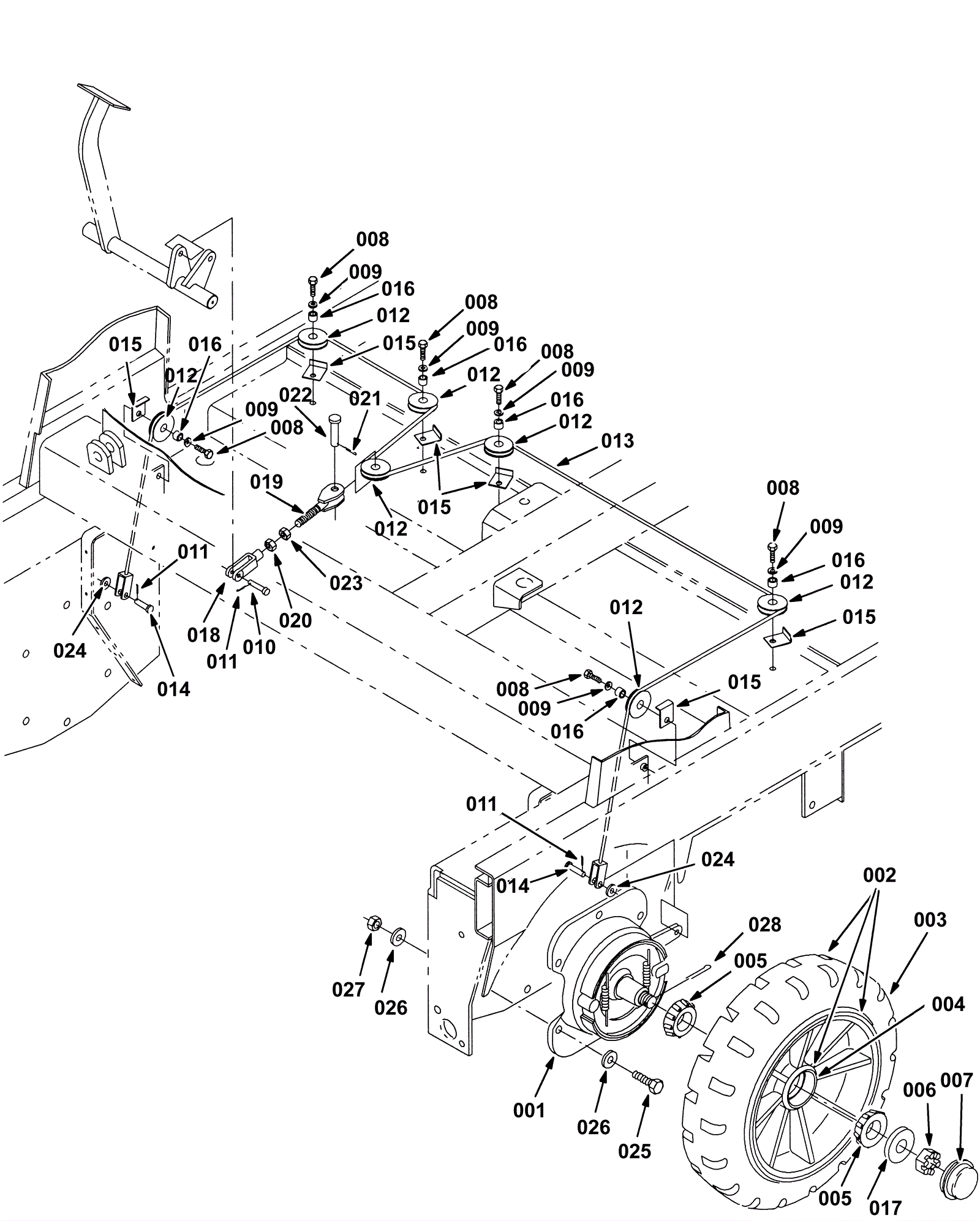
Front Wheel and Brakes Group
Click to enlarge